Снятие, установка шестерни привода топливного насоса в сборе с валом:
- выверните болты (двигатель установлен на стенде) крепления компрессора и снимите компрессор;
- выверните болты крепления насоса гидроусилителя рулевого управления и снимите насос;
- ослабьте затяжку стяжного болта (см. Рисунок 44 — Привод ТНВД мод. 337-70);
- снимите корпус заднего подшипника вала привода топливного насоса в сборе с манжетой и шестерню привода топливного насоса высокого давления в сборе с валом.
При сборке совместите метки на торцах шестерни привода ТНВД и шестерни распределительного вала. После установки привода ТНВД на двигатель затяните стяжной болт привода.

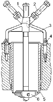
Снятие гильзы цилиндра
Для снятия гильзы цилиндра съемником И801.05.000 (см. Рисунок 69 — Снятие гильзы цилиндра съемником И801.05.000) сложите захват вдоль винта 1 и в таком виде вставьте его во внутрь гильзы. Зацепив захват за нижний торец гильзы, установите его перпендикулярно винту, после этого установите опоры 4 в отверстие на привалочной плоскости блока и, вращая рукоятку 2, выверните винт до полного снятия гильзы.

Рисунок 69 —
Снятие гильзы цилиндра съемником И801.05.000
1 — винт; 2 — рукоятка; 3 —
корпус; 4 — опора; 5 — гильза; 6 — захват
Снятие, установка картера маховика
Для снятия картера маховика: снимите компрессор (см. выше); снимите насос гидроусилителя рулевого управления; выверните болты крепления заднего рыма; снимите скобы крепления трубки отвода топлива от форсунок; выверните болт крепления масляного щупа; выверните болты крепления маховика и монтажными болтами с резьбой М8 (см. рисунок — Снятие маховика монтажными болтами); снимите маховик; выверните болты крепления картера маховика, снимите картер.
Ремонт коленчатого вала, блока и шатуна
Для ремонта коленчатого вала, блока и шатуна предусмотрено семь ремонтных размеров вкладышей (см. таблицы 14, 15).
Снятие, установка головки цилиндра
Для снятия головки цилиндра при замене, а также устранения неисправностей клапанного механизма и цилиндро-поршневой группы: слейте охлаждающую жидкость из системы охлаждения двигателя; выверните болты крепления выпускного коллектора и снимите коллектор; выверните из снимаемой головки болты крепления впускного воздухопровода и водосборной трубы.
Разборка, сборка и проверка масляного насоса
Для разборки, сборки и проверки масляного насоса: слейте масло из картера, выверните болты крепления и снимите картер; выверните болты крепления масляного насоса, трубки клапана смазочной системы и кронштейна всасывающей трубки, снимите насос; отсоедините всасывающую трубку и трубку клапана смазочной системы.
Ремонт топливного насоса высокого давления
Для снятия топливного насоса высокого давления: отсоедините пневмоцилиндр управления рычагом останова двигателя, тросики рычага управления регулятором и управления подачей топлива, трубопроводы подвода топлива к насосу, отводящий, дренажный трубопроводы и трубопровод от фильтра тонкой очистки топлива, трубку для подвода масла к насосу, маслоотводящую трубку.
Ремонт топливоподкачивающего насоса и насоса предпусковой прокачки топлива
При ремонте топливоподкачивающего насоса и насоса предпусковой прокачки топлива: топливоподкачивающий насос и насос предпусковой прокачки замените при наличии трещин на корпусе, изломов, механических повреждений, коррозии, ведущей к потере подвижности сопрягаемых деталей.
Разборка форсунки
Для разборки форсунки используйте приспособление И801.20.000. Зажмите станину 3 (см. Рисунок 81 — Разборка форсунки в приспособлении И801.20.000) приспособления в тисках, установите форсунку 2 в паз станины распылителем вверх.
Ремонт топливного бака
При ремонте топливного бака:
- для обнаружения дефектов (трещины, пробоины и вмятины на стенках, трещины в местах крепления горловины и корпуса сливной пробки, коррозия внутренних поверхностей) промойте бак горячим водным 5%-ным раствором каустической соды, затем — проточной водой для удаления грязи и паров топлива;
- проверьте герметичность бака сжатым воздухом при давлении до 24,5
кПа
(0,25 кгс/см2), для чего закройте все отверстия заглушками, а к корпусу сливного крана подсоедините шланг воздухопровода, погрузите бак в воду и по пузырькам выходящего воздуха определите места течи; - пробоины и трещины устраните приваркой или приклеиванием заплат. Перед наложением заплат концы трещин засверлите;
- выправьте вмятины стенок бака, для чего к центру поврежденной поверхности приварите железный прут, на свободном конце которого должно быть кольцо, через кольцо пропустите рычаг и выправьте им вмятину. Затем прут отрежьте, а место приварки зачистите.
Большие вмятины устраните следующим образом: на противоположной
неповрежденной стенке бака вырежьте окно (по периметру с трех сторон) и отогните
вырезанную часть его так, чтобы был свободный доступ внутрь бака. После
устранения вмятины отогнутую часть стенки подгоните на место и заварите или
запаяйте. После ремонта проверьте герметичность бака и окрасьте его
снаружи.
Снятие и разборка направляющего ролика
Для снятия и разборки направляющего ролика (см. Рисунок 63 — Ролик направляющий):
- выверните гайки 5 и снимите шкив 1 с осью 6 в сборе;
- снимите упорное кольцо 3, выньте шайбу 7 и выпрессуйте ось 6 с подшипником 2;
- снимите стопорное кольцо 8 и выпрессуйте подшипник 2. Подшипник должен вращаться плавно, без заеданий, резиновое уплотнение не должно иметь повреждений.
Сборку производите в обратном порядке.
Снятие и разборка натяжной опоры
Для снятия и разборки натяжной опоры (см. Рисунок 65 — Натяжная опора):
- ослабьте натяжение ремней привода вентилятора и снимите их;
- выверните четыре болта крепления натяжной опоры и снимите ее;
- выпрессуйте штифт 5 и выверните гайку 4;
- выверните болт-натяжитель 1;
- выверните гайки 2 и снимите шкив 7 вместе с осью 6;
- снимите заглушку 11;
- выверните болт 12 и выпрессуйте с оси 6 шкив 7 с подшипником 8;
- снимите упорное кольцо 9 и выпрессуйте подшипник 8. Заменить изношенные детали.
На шкиве не должно быть сколов на поверхностях ручьев для ремней. Подшипник должен вращаться плавно, без заеданий, резиновые уплотнения не должны иметь повреждений. Сборку производите в обратном порядке.
Снятие и разборка опоры вентилятора с электромагнитной муфтой
Для снятия и разборки опоры вентилятора с электромагнитной муфтой (см. Рисунок 64 — Опора вентилятора с электромагнитной муфтой):
- ослабьте натяжение ремней привода вентилятора и снимите их;
- выверните четыре болта крепления кронштейна подвески радиатора и снимите опору вентилятора с электромагнитной муфтой и крыльчаткой вентилятора вместе с кронштейном;
- выверните болты крепления крыльчатки вентилятора и снимите ее;
- выверните болты крепления опоры вентилятора с электромагнитной муфтой к кронштейну подвески вентилятора и снимите ее;
- разогните усы стопорной шайбы гайки 20 крепления ступицы вентилятора, отверните гайку 20 и снимите ступицу 3 вентилятора;
- разогните усы стопорной шайбы гайки 12 крепления ступицы 13, отверните гайку 12 и снимите ступицу 13 со шкивом 15 привода вентилятора, используя для съема два отверстия М8 в ступице;
- выверните винты крепления крышки 17 подшипника, выпрессуйте подшипник 14 и выньте заглушку;
- выверните болты 8 и снимите электромагнитную катушку 16;
- снимите упорное кольцо подшипника 5;
- снимите вал 7 опоры вентилятора с подшипником 5;
- выньте подшипник 19 из корпуса 6.
Замените изношенные детали. Толщина фрикционного диска должна быть не менее
4,8 мм.
Подшипники должны вращаться плавно, без заеданий, резиновые
уплотнения подшипников не должны иметь повреждений.
На шкиве не должно быть
сколов на поверхностях ручьев для ремней.
Сборку производите в обратном
порядке.
После сборки отрегулируйте винтами 11 зазор между шкивом 15 и
фрикционным диском 9. После регулировки винты законтрите гайками 10. Зазор
должен быть 0,5-0,7 мм.
Снятие и разборка водяного насоса
Для снятия и разборки водяного насоса (см. Рисунок 60 — Водяной насос): слейте жидкость из системы охлаждения; снимите ремень привода насоса; выверните четыре болта крепления насоса; снимите с корпуса уплотнительное кольцо.






