Система охлаждения двигателя жидкостная, закрытого типа, с принудительной циркуляцией охлаждающей жидкости. Номинальная температура охлаждающей жидкости в системе при работе двигателя 75-95 °С.
В «Системе охлаждения» на шасси с ГМП предусмотрена установка трубопроводов, соединяющих теплообменник ГМП с системой охлаждения двигателя. Коробка термостатов установлена отдельно на кронштейне под расширительным бачком.
Система охлаждения (см. одноименный рисунок) состоит из корпуса 20 водяных каналов, водяного насоса 19, коробки 17 термостатов, крыльчатки 4 вентилятора, опоры 2 вентилятора с электромагнитной муфтой, датчика 12 включения вентилятора, радиатора 1, расширительного бачка 7 с паровоздушной пробкой 8, водяных труб на двигателе, соединительных трубопроводов и резиновых рукавов, ремня 21 привода генератора и водяного насоса, ремней 26 и 28 привода вентилятора, натяжной опоры 27 и направляющих роликов 18 и 25.
Во время работы двигателя нагретая охлаждающая жидкость из головок цилиндров по трубам поступает в водяную коробку, из которой в зависимости от температуры направляется термостатами в радиатор или на вход водяного насоса. Часть жидкости нагнетается насосом в жидкостно-масляный теплообменник, из которого отводится в зону расположения четвертого цилиндра.
Диапазон регулирования температуры охлаждающей жидкости термостатами находится в пределах 80-93 °С. При повышении температуры жидкости до 92 °С происходит автоматическое включение электромагнитной муфты привода вентилятора.
Передача крутящего момента от шкива коленчатого вала к шкиву электромагнитной муфты привода вентилятора осуществляется двумя ветвями клиновых ремней 26 и 28 через промежуточную натяжную опору 27, установленную на кронштейне, приваренном к левому лонжерону каркаса основания шасси автобуса.
Корпус водяных каналов отлит из чугунного сплава и закреплен болтами на переднем торце блока цилиндров. В корпусе водяных каналов отлиты входная и выходная полости водяного насоса, полости водяной коробки для установки термостатов и соединительные каналы для прохода охлаждающей жидкости.
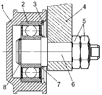
Направляющий ролик (см. Рисунок 63 — Ролик направляющий) предназначен для увеличения угла обхвата шкивов коленчатого вала и водяного насоса.
Ролики закреплены в отверстиях воздушного тройника подвода воздуха в двигатель.
Крыльчатка вентилятора — металлическая, пятилопастная, диаметром 660 мм. Передаточное отношение ременного привода вентилятора 1:1.
Радиатор — меднопаяный, трехрядный. Радиатор скреплен с рамкой подвески болтовыми соединениями, рамка крепится к каркасу основания шасси автобуса через боковые резиновые втулки, стянутые гайками, и внизу тягой через резиновые подушки.

Рисунок 59 —
Схема системы охлаждения
1 — радиатор; 2 — опора вентилятора с
электромагнитной муфтой; 3 — кронштейн подвески вентилятора; 4 — крыльчатка
вентилятора; 5 — рамка подвески вентилятора; 6 — кронштейн крепления
расширительного бачка; 7 — расширительный бачок; 8 — паровоздушная пробка; 9 —
рукав отвода воздуха из радиатора; 10 — крышка заливной горловины; 11 — рукав
отвода жидкости из компрессора; 12 — датчик включения вентилятора; 13 —
перепускной трубопровод; 14, 23 — соединительные трубопроводы; 15 — резиновые
рукава; 16 — компрессор; 17 — коробка термостатов; 18, 25 — направляющие ролики;
19 — водяной насос; 20 — корпус водяных каналов; 21, 26, 28 — ремни привода; 22
— шкив коленчатого вала; 24 — пробка сливного отверстия; 27 — натяжная
опора

Рисунок 63 —
Ролик направляющий
1 — шкив; 2 — подшипник; 3 — кольцо упорное; 4 — тройник
подвода воздуха; 5 — гайки; 6 — ось; 7 — шайба; 8 — кольцо
стопорное






