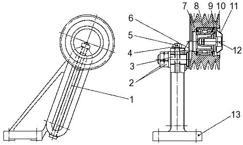
Натяжная опора (см. Рисунок 65 — Натяжная опора) установлена на кронштейне, приваренном к левому лонжерону каркаса основания шасси автобуса Нефаз.
В шкив 7 запрессован двухрядный шариковый подшипник 8 с двухсторонним уплотнением. Смазка в подшипник заложена заводом-изготовителем. От осевых перемещений наружная обойма подшипника зафиксирована упорным кольцом 9, внутренние обоймы — шайбой 10 и болтом 12. Ось натяжного ролика вставлена в продольный паз кронштейна 13 крепления опоры вентилятора. Гайки 2 стягивают ось 3 и удерживают ролик от перемещения вдоль продольного паза в кронштейне 13. В оси натяжного ролика выполнено резьбовое отверстие, в которое ввернут болт-натяжитель 1.

Рисунок 65 — Натяжная опора
1 — болт-натяжитель; 2, 4 — гайки; 3 —
ось; 5 — штифт; 6 — ось шкива; 7 — шкив; 8 — подшипник; 9 — кольцо упорное; 10 —
шайба упорная; 11 — заглушка; 12 — болт; 13 — кронштейн






