Опора вентилятора с электромагнитной муфтой (Рисунок 64 — Опора вентилятора с электромагнитной муфтой) установлена на кронштейне трубной конструкции, который болтовыми соединениями крепится к рамке подвески радиатора.
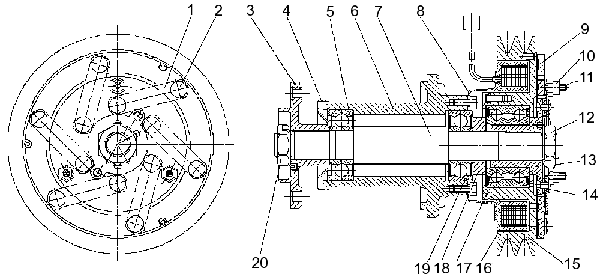
Вал 7 вращается в двух подшипниках 5 и 19 с двухсторонними резиновыми уплотнениями, запрессованных в корпус 6. Смазка в подшипники заложена заводом-изготовителем и ее пополнение в процессе эксплуатации не требуется.
Ступица 3 вентилятора закреплена на валу 7 шлицевым соединением треугольного профиля и прижата к подшипнику гайкой 20. На другом конце корпуса 6 болтами 8 закреплена неподвижно электромагнитная катушка 16. Шкив 15 вращается в подшипнике 14.
Ступица 13 электромагнитной муфты закреплена на валу 7 шлицевым соединением треугольного профиля и прижата к подшипнику 19 гайкой 12 через шайбу 18. Ступица 13 скреплена с фрикционным диском 9 заклепками 2 через шесть пружинных пластин 1. Между торцом шкива 15 и фрикционным диском 9 предусмотрен зазор 0,5-0,7 мм, который регулируется винтами 11. После регулирования зазора винты 11 законтрить гайками 10.
После включения двигателя шкив 15 опоры, приводимый ременной передачей, начинает вращаться, а вал 7, на котором установлен вентилятор, не вращается или вращается с небольшой частотой, определяемой силами трения в подшипнике 14.
При повышении температуры охлаждающей жидкости до 90 °С происходит замыкание контактов датчика включения вентилятора иподается напряжение на электромагнитную катушку 16. Электромагнитное поле катушки притягивает фрикционный диск 9 к торцу шкива 15, преодолевая сопротивление пружинных пластин 1, и вентилятор включается в работу.
При понижении температуры жидкости до 85 °С происходит размыкание контактов датчика, и фрикционный диск 9 под действием пружинных пластин 1 возвращается в исходное положение.

Рисунок 64 — Опора вентилятора с электромагнитной муфтой
1 — пружина
пластинная; 2 — заклепка; 3 — ступица вентилятора; 4 — пылеотражатель; 5, 14, 19
— подшипники; 6 — корпус опоры вентилятора; 7 — вал опоры вентилятора; 8 — болт
крепления электромагнитной катушки; 9 — диск фрикционный; 10, 12, 20 — гайки; 11
— винт регулировочный; 13 — ступица; 15 — шкив привода вентилятора; 16 —
электромагнитная катушка; 17 — крышка шкива; 18 — шайба






