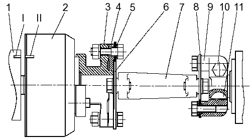
Привод ТНВД двигателя мод. 740.11-240
Привод ТНВД двигателя мод. 740.11-240 (см. Рисунок 44 — Привод ТНВД мод. 337-70) с автоматической муфтой опережения впрыскивания топлива (АМОВТ) состоит из вала 7 привода с компенсирующими пластинами, ведомой полумуфты 3, ведущей полумуфты 9 и центрирующего фланца 4.

Рисунок 44 — Привод ТНВД мод. 337-70
1 — корпус ТНВД; 2 —
автоматическая муфта опережения впрыскивания топлива; 3 — ведомая полумуфта; 4 —
центрирующий фланец; 5 — втулка центрирующая; 6, 8 — пакеты пластин; 7 — вал
привода; 9 — ведущая полумуфта; 10 — стяжной болт; 11 — шпонка; I, II —
метки
В приводе устанавливается по пять компенсирующих задних и передних пластин толщиной 0,4 мм каждая, изготовленных из стали 65 Г.
Внимание. Все болты в приводе ТНВД должны быть класса прочности R 100, момент затяжки болтов 65-74 Н.м (6,5-7,5 кгс.м). Перед установкой болтов проверить наличие центрирующих втулок. Шайбы пружинные устанавливать только под гайки крепления пластин к ведомой полумуфте. Деформация (изгиб) передних и задних пластин не допускается. Стяжной болт ведущей полумуфты затягивается в последнюю очередь.
Привод ТНВД двигателей мод. 740.11-240, 740.30-260 и 740.31-240
Привод ТНВД двигателей мод. 740.11-240, 740.30-260 и 740.31-240 (см. Рисунок 45 — Привод ТНВД мод. 337-70.01, 337-71 и 337-71.01) — без автоматической муфты опережения впрыскивания топлива. Он состоит из вала 8 привода с компенсирующими пластинами, центрирующего фланца 5, ведущей полумуфты 10, болта 11 ведущей полумуфты.

Рисунок 45 — Привод ТНВД мод. 337-70.01, 337-71 и 337-71.01
1 — корпус
ТНВД; 2 — полумуфта ведомая; 3 — фланец ведомой полумуфты; 4, 6 — пакеты
компенсирующих пластин; 5 — центрирующий фланец; 7, 9 — болты крепления; 8 — вал
привода; 10 — ведущая полумуфта; 11 — болт ведомой полумуфты; 12 — шпонка; 13 —
втулка центрирующая;
S — смещение установочной метки на фланце ведомой
полумуфты относительно указателя на корпусе ТНВД не должно превышать 2 мм;
I
— указатель на корпусе ТНВД; II — установочная метка на фланце ведомой
полумуфты
В приводе устанавливается по пять компенсирующих передних и задних пластин толщиной 0,5 мм каждая, изготовленных из из стали 65 Г.
Внимание. Все болты в приводе ТНВД должны быть класса прочности R 100, момент затяжки болтов 65-74 Н.м (6,5-7,5 кгс.м). Перед установкой болтов проверить наличие центрирующих втулок. Шайбы пружинные устанавливать только под гайки крепления пластин к ведомой полумуфте. Деформация (изгиб) передних и задних пластин не допускается. Болт ведущей полумуфты затягивается в последнюю очередь моментом 58,9-64,7 Н.м (6,0-6,6 кгс.м).
Внимание. Проверку, регулировку и ремонт ТНВД и форсунок необходимо проводить в специализированной мастерской квалифицированным специалистом. Категорически запрещается установка на двигатели 740.11, 740.30 и 740.31 ТНВД и форсунок, не предусмотренных настоящим Руководством из-за ухудшения рабочего процесса, повышения токсичности, дымности отработавших газов и выхода двигателя из строя!






