Для снятия головки цилиндра при замене, а также устранения неисправностей клапанного механизма и цилиндро-поршневой группы:
- слейте охлаждающую жидкость из системы охлаждения двигателя;
- выверните болты крепления выпускного коллектора и снимите коллектор;
- выверните из снимаемой головки болты крепления впускного воздухопровода и водосборной трубы;
- ослабьте крепления этих же болтов на других головках с целью получения необходимого зазора для снятия (для снятия головок цилиндров правого ряда предварительно снимите с двигателя компрессор);
- снимите соединительный патрубок впускных воздухопроводов;
- отсоедините от головки все трубопроводы и защитите их полости от попадания пыли и грязи;
- снимите форсунку, предохраняя распылитель от ударов и засорения отверстий, крышку головки цилиндра, стойки вместе с коромыслами и штанги;
- ослабьте болты крепления головки цилиндра, соблюдая ту же последовательность, что и при затяжке (см. Рисунок 78 — Последовательность затяжки болтов крепления головки цилиндра), затем выверните их;
- снимите головку цилиндра с двигателя.
При установке головки цилиндра обратите внимание на правильность монтажа прокладок. Болты крепления головки цилиндра затяните в три приема в последовательности, указанной на Рисунке 78 — Последовательность затяжки болтов крепления головки цилиндра. После затяжки болтов проверьте и, если необходимо, отрегулируйте тепловые зазоры между клапанами и коромыслами.

Рисунок 76 —
Разборка головки цилиндра в приспособлении
1 — винт; 2 — вороток; 3 —
тарелка; 4 — штифт

Рисунок 78 —
Последовательность затяжки болтов крепления головки цилиндра
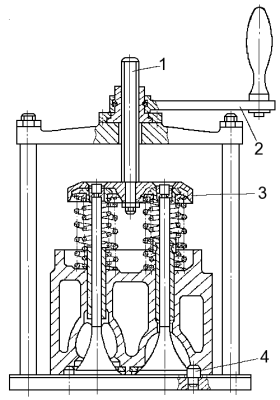
Для разборки и сборки клапанного механизма приспособлением И801.06.000:
- установите на основание головку блока цилиндров так, чтобы штифты вошли в штифтовые отверстия головки (см. рис. 76);
- вращая вороток 2, вверните винт 1 и тарелкой 3 отожмите пружины клапанов;
- снимите сухари и втулки;
- выверните винт 1 из траверсы, снимите тарелку и пружины клапанов;
- выньте впускной и выпускной клапаны. Размеры клапанов приведены в таблице 16 (Рисунок 79 — Размеры клапана).

Рисунок 79 —
Размеры клапана
А — длина направляющей; В — высота седла; Д — диаметр седла;
Д1 — диаметр тарелки; Д2 — диаметр отверстия под седло; Д3 — диаметр стержня; Д4
— внутренний диаметр направляющей; Д5 — наружный диаметр направляющей; Д6 —
диаметр отверстия под направляющую;
α — угол фаски седла; γ — угол фаски
клапана
Таблица 16 — Размеры клапана
|
Обозначение |
Размеры клапана, мм | |
|
впуска |
выпуска | |
|
А |
75 |
75 |
|
В |
5,975...6,000 |
9,464...9,500 |
|
D |
55,15...55,18 |
50,15...50,18 |
|
D1 |
51,30...51,60 |
46,25...46,50 |
|
D2 |
55,00...55,03 |
50,00...50,03 |
|
D3 |
9,950...9,963 |
9,91...9,93 |
|
D4 |
10,000...10,022 |
10,000...10,022 |
|
D5 |
18,029...18,048 |
18,029...18,048 |
|
D6 |
17,987...18,013 |
17,987...18,013 |
При сборке клапанного механизма стержни клапанов отграфитируйте или смажьте дизельным маслом.
Для притирки клапанов:
- разберите клапанный механизм, как описано выше;
- приготовьте пасту из 1,5 частей (по объему) микропорошка карбида кремния зеленого, одной части дизельного масла и 0,5 части дизельного топлива.
Перед применением притирочную пасту перемешайте (микропорошок способен осаждаться);
- нанесите на фаску седла клапана тонкий равномерный слой пасты, смажьте стержень клапана моторным маслом. Притирку производите возвратно-вращательным движением клапана дрелью с присоской или приспособлением. Нажимая клапан, поверните его на 1/3 оборота, затем — на 1/4 оборота в обратном направлении. Не притирайте клапаны круговыми движениями. Притирку продолжайте до появления на фасках клапана и седла равномерного матового пояска шириной не менее 1,5 мм (см. Рисунок 77 — Расположение матового пояска на седле клапана);
- по окончании притирки клапаны и головку цилиндра промойте дизельным топливом и обдуйте воздухом. Соберите клапанный механизм, как указано выше, и определите качество притирки клапанов проверкой на герметичность: установите головку цилиндра поочередно впускными и выпускными окнами вверх и залейте в них дизельное топливо. Хорошо притертые клапаны не должны пропускать его в местах уплотнения в течение 30 секунд. При подтекании топлива постучите резиновым молотком по торцу клапана. Если подтекание не устраняется, клапаны притрите повторно.

Рисунок 77 —
Расположение матового пояска на седле клапана
1 — притертый поясок; I —
правильное; II — неправильное
При необходимости качество притирки проверьте «на карандаш», для чего поперек фаски клапана мягким графитовым карандашом нанесите на равном расстоянии шесть-восемь черточек. Осторожно вставьте клапан в седло и, сильно нажав, проверните на 1/4 оборота, все черточки должны быть стертыми, в противном случае притирку повторите. При правильной притирке матовый поясок на седле головки должен начинаться у большего основания конуса седла, как показано на Рисунке 77 — Расположение матового пояска на седле клапана.






