Система питания топливом обеспечивает очистку топлива и равномерное распределение его по цилиндрам двигателя дозированными порциями в строго определенные моменты.
На двигателе применена система питания топливом разделенного типа, состоящая из топливного бака, топливных трубок высокого и низкого давления, фильтров грубой и тонкой очистки топлива, насосов топливоподкачивающего и предпусковой прокачки топлива, топливного насоса высокого давления (ТНВД), форсунок, электромагнитного клапана и штифтовых свечей электрофакельного устройства (ЭФУ).
Топливный бак, фильтр грубой очистки топлива и насос предпусковой прокачки топлива установлены на автобусе Нефаз, все остальные элементы системы питания установлены непосредственно на двигателе.
Топливо из топливного бака 18 через фильтр 20 грубой очистки и насос 21 предпусковой прокачки топлива подается топливоподкачивающим насосом 28 по топливной трубке 29 в фильтр 7 тонкой очистки. Из фильтра тонкой очистки по топливной трубке 8 низкого давления топливо поступает в ТНВД 27, который в соответствии с порядком работы цилиндров распределяет топливо по топливопроводам 1-4, 22-25 высокого давления к форсункам 26. Форсунки впрыскивают топливо в камеры сгорания. Избыточное топливо, а вместе с ним попавший в систему воздух, через перепускной клапан 10 и клапан 6 отводится в топливный бак.
Фильтр грубой очистки предварительно очищает топливо, поступающее в топливоподкачивающий насос. Он установлен в системе питания топливом на каркасе основания справа в задней части шасси автобуса.
Автобусные шасси вместо ФГОТ могут быть укомплектованы фильтром-водоотделителем «Separ-2000» мод. SWK 2000/5/50 без подогревателя топлива и мод. SWK 2000/5/50Н с подогревателем топлива. Включается подогрев фильтра выключателем 21, расположенным на панели щитка приборов шасси (см. Рисунок 7 — Панель щитка приборов).
Инструкция по монтажу и обслуживанию фильтра «Sераr 2000» приведена в Приложении V.
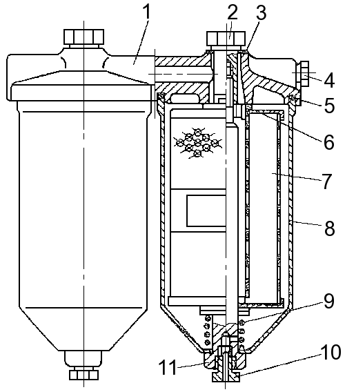
Фильтр тонкой очистки топлива (ФТОТ) (см. Рисунок 46 — Фильтр тонкой очистки топлива) окончательно очищает топливо перед поступлением в ТНВД. Он установлен в самой высокой точке системы питания топливом для сбора и удаления в бак воздуха вместе с частью топлива через клапан. Клапан установлен в корпусе ФТОТ на сливе дренажного топлива.
Внимание. При замене фильтрующих элементов необходимо строго соблюдать правила обслуживания системы питания топливом. Не допускайте попадания загрязнений в топливную систему и применяйте фильтрующие элементы только следующих моделей: 740.1117040-01, 740.1117040-02 или 740.1117040-04.
Корректор подачи топлива по давлению наддувочного воздуха уменьшает подачу топлива при снижении давления наддувочного воздуха ниже 40-45 кПа (0,4-0,45 кгс/см2), благодаря чему осуществляется тепловая защита двигателя и ограничивается дымность отработавших газов.
Привод ТНВД двигателя мод. 740.11-240 (см. Рисунок 44 — Привод ТНВД мод. 337-70) с автоматической муфтой опережения впрыскивания топлива (АМОВТ) состоит из вала 7 привода с компенсирующими пластинами, ведомой полумуфты 3, ведущей полумуфты 9 и центрирующего фланца 4.
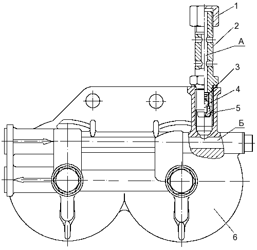
Клапан представлен на одноименном рисунке (рис. 47). При достижении давления в полости Б подвода топлива 25-45 кПа (0,25-0,45 кгс/см2) происходит перемещение шарика 4 и перетекание топлива из полости Б в полость А через жиклер 5 клапана. При давлении 200-240 кПа (2-2,4 кгс/см2) обеспечивается полное открытие клапана и перепуск топлива в топливный бак через полость А.
Привод управления подачей топлива механический: педаль управления подачей топлива связана с рычагом управления регулятора частоты вращения ТНВД тросовым приводом. Для установки постоянной частоты вращения коленчатого вала двигателя нужно нажать педаль подачи топлива, а затем вытянуть рукоятку троса ручного управления подачей топлива и поворотом рукоятки зафиксировать необходимую частоту вращения. Рукоятка троса ручного управления подачей топлива установлена в моторном отсеке с правой стороны. Описание конструкции, требования к эксплуатации тросового привода приведены в разделе «Коробка передач».
Топливный бак на автобусах имеет вместимость 250 л (на междугородных автобусах дальнего следования — 290 л). Заливная горловина бака снабжена выдвижной трубой с сетчатым фильтром и закрывается герметичной пробкой с встроенными клапанами. Для удаления отстоя служит сливной кран, расположенный в нижней части корпуса бака. Пробка крана снабжена заглушкой для предохранения от попадания воды в бак.
Топливные трубки подразделяются на топливные трубки низкого давления — 0,4-2 МПа (4-20 кгс/см2) и высокого давления — более 20 МПа (200 кгс/см2). Топливопроводы низкого давления изготовлены из стальной трубы сечением 10×1 мм с паянными наконечниками. Топливные трубки высокого давления равной длины (L = 595 мм), изготовлены из стальных труб с внутренним диаметром 2 мм, наружным — 7 мм. Во избежание поломок от вибрации топливные трубки дополнительно прикреплены скобами к впускным коллектором.
Схема системы питания топливом показана на одноименном рисунке.

Рисунок 37 — Система питания двигателя топливом
1-4, 22-25 — топливные
трубки высокого давления; 5 — трубка отводящая топливного насоса; 6 —
клапан-жиклер; 7 — фильтр тонкой очистки топлива; 8 — трубка топливная
подводящая ТНВД; 9 — трубка подвода топлива к клапану ЭФУ; 10 — перепускной
клапан ТНВД; 11 — клапан ЭФУ; 12 — трубка топливная дренажная форсунок правых
головок; 13 — трубка топливная от магнитного клапана к свечам ЭФУ; 14 — тройник;
15 — свеча ЭФУ; 16 — трубка топливная дренажная форсунок левых головок; 17 —
заправочная горловина с сетчатым фильтром; 18 — топливный бак; 19 —
топливозаборная трубка с сетчатым фильтром; 20 — фильтр грубой очистки топлива;
21 — насос предпусковой прокачки топлива; 26 — форсунка; 27 — ТНВД; 28 —
топливоподкачивающий насос; 29 — трубка топливная отводящая ТНВД; 30 —
пневматически цилиндр останова двигателя; 31 — корректор подачи топлива по
давлению надувочного воздуха

Рисунок 46 —
Фильтр тонкой очистки топлива
1 — корпус; 2 — болт; 3 — уплотнительная шайба;
4 — пробка; 5, 6 — прокладки; 7 — фильтрующий элемент; 8 — колпак; 9 — пружина
фильтрующего элемента; 10 — пробка сливного отверстия; 11 — стержень

Рисунок 47 —
Клапан
1 — гайка; 2 — корпус клапана; 3 — пружина; 4 — шарик; 5 — жиклер; 6 —
крышка фильтра тонкой очистки топлива; А — полость отвода топлива; Б — полость
подвода топлива






