Насос топливоподкачивающий 13 (см. Рисунок 39 — ТНВД мод. 337-70 двигателя 740.11-240) — поршневого типа, предназначен для подачи топлива от бака через фильтры грубой и тонкой очистки к впускной полости ТНВД.
Насос установлен на задней крышке регулятора, привод его осуществляется от эксцентрика 19 кулачкового вала 45 ТНВД. В корпусе насоса размещены: поршень, пружина поршня, втулка 46 штока и шток 47 толкателя, впускной и нагнетательный клапаны с пружинами. Эксцентрик 19 кулачкового вала ТНВД через ролик 48, толкатель 15 и шток 47 сообщает поршню топливоподкачивающего насоса возвратно-поступательное движение.
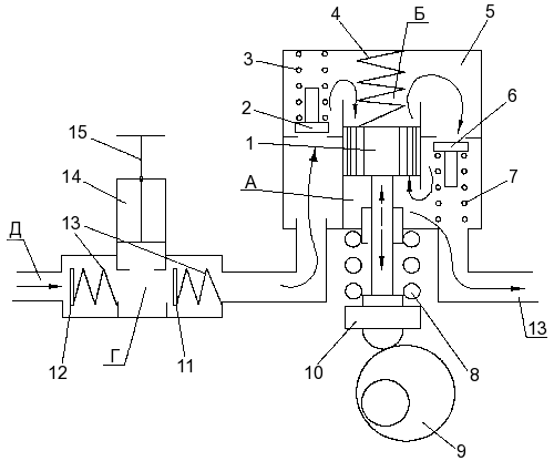
Схема работы топливоподкачивающего насоса и насоса предпусковой прокачки топлива показана на одноименном рисунке.

Рисунок 48 — Схема работы топливоподкачивающего насоса и насоса
предпусковой прокачки топлива
1 — поршень; 2 — предпусковой клапан; 3, 7 —
пружины клапанов; 4 — пружина поршня; 5 — насос топливоподкачивающий; 6, 11 —
нагнетательные клапаны; 8 — пружина толкателя; 9 — эксцентрик; 10 — толкатель;
12 — впускной клапан; 13 — пружины; 14 — насос предпусковой прокачки топлива; 15
— поршень;
А — полость нагнетания топливоподкачивающего насоса; Б — полость
всасывания топливоподкачивающего насоса; В — к фильтру тонкой очистки топлива; Г
— полость всасывания насоса предпусковой прокачки топлива; Д — от фильтра тонкой
очистки топлива
При опускании толкателя 10 поршень 1 под действием пружины 4 движется вниз. В полости Б создается разрежение и впускной клапан 2, сжимая пружину 3, пропускает в полость Б топливо.
Одновременно топливо, находящееся в нагнетательной полости А, вытесняется в магистраль В, при этом клапан 6 под действием пружины 7 закрывается, исключая перетекание топлива из полости А в полость Б.
При движении поршня 1 вверх топливо, заполняющее полость Б, через нагнетательный клапан 6 поступает в полость А под поршнем, при этом впускной клапан закрывается. При повышении давления в нагнетательной магистрали поршень не совершает полного хода вслед за толкателем, а остается в положении, которое определяется равновесием силы давления топлива с одной стороны и усилия пружины — с другой.
Насос предпусковой прокачки топлива
Насос предпусковой прокачки топлива (см. Рисунок 48 — Схема работы топливоподкачивающего насоса и насоса предпусковой прокачки топлива) — поршневого типа, служит для заполнения топливной системы топливом перед пуском двигателя и удаления из нее воздуха. Насос устанавливается в топливной системе изделия на ФГОТ. Насос состоит из корпуса, поршня, цилиндра, впускного и нагнетательного клапанов.
Топливную систему следует прокачивать при помощи поршня насоса, предварительно расстопорив его поворотом против часовой стрелки.
При движении поршня 15 вверх в пространстве под ним создается разрежение. Впускной клапан 12, сжимая пружину 13, открывается и топливо поступает в полость Г насоса. При движении поршня вниз впускной клапан закрывается и открывается нагнетательный клапан 11, топливо под давлением поступает в нагнетательную магистраль, обеспечивая удаление воздуха из топливной системы двигателя через клапан фильтра тонкой очистки топлива и перепускной клапан ТНВД.
После прокачивания системы необходимо опустить поршень и зафиксировать его поворотом по часовой стрелке. При этом поршень прижмется к торцу цилиндра через резиновую прокладку, уплотнив полость всасывания насоса предпусковой прокачки топлива.
Внимание. Не допускается пускать двигатель при незафиксированной рукоятке ввиду возможности подсоса воздуха через уплотнение поршня.






