На двигателях мод. 740.11, 740.30 и 740.31 применяются форсунки мод. 273-20 с распылителем мод. 273-20 ОАО «ЯЗДА» или мод. 273-50 с распылителем DLLA148S1380 фирмы «БОШ» (Германия).
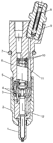
Форсунка (см. Рисунок 38 — Форсунка) — закрытого типа, с пятью распыливающими отверстиями и гидравлическим управлением подъема иглы.

Рисунок 38 — Форсунка
1 — корпус распылителя; 2 — гайка распылителя; 3
— проставка; 4 — установочные штифты; 5 — штанга форсунки; 6 — корпус форсунки;
7 — уплотнительное кольцо; 8 — щелевой фильтр; 9 — штуцер; 10 — регулировочные
шайбы; 11 — пружина форсунки; 12 — игла распылителя
Все детали форсунки собраны в корпусе 6. К нижнему торцу корпуса форсунки гайкой 2 через проставку 3 прижат корпус 1 распылителя, внутри которого находится игла 12. Корпус и игла распылителя составляют прецизионную пару. Угловая фиксация корпуса распылителя относительно проставки и проставки относительно корпуса форсунки осуществлена штифтами 4. На верхний конец иглы распылителя через штангу 5 оказывает давление пружина 11. Необходимое натяжение этой пружины осуществляется набором регулировочных шайб 10, устанавливаемых между пружиной и торцом внутренней полости корпуса форсунки.
Топливо к форсунке подается под высоким давлением через штуцер 9 со встроенным фильтром 8, далее по каналам корпуса 6, проставки 3 и корпуса 1 распылителя — в полость между корпусом распылителя и иглой 12 и, поднимая ее, впрыскивается в цилиндр.
Просочившееся через зазор между иглой и корпусом распылителя топливо отводится по каналам в корпусе форсунки и сливается в бак через дренажные трубки 12 и 16 (см. Рисунок 37 — Система питания двигателя топливом). Форсунка установлена в головке цилиндра и зафиксирована скобами, которые закреплены гайкой. Торец гайки распылителя уплотнен от прорыва газов гофрированной медной прокладкой. Полость между форсункой и головкой цилиндра от попадания пыли и жидкостей предохраняет уплотнительное кольцо 7 форсунки.
Внимание. Проверка и регулировка форсунок, а также замена распылителей должны проводиться в специализированной мастерской квалифицированным специалистом.
Ввиду возможности выхода из строя двигателя категорически запрещается установка форсунок и распылителей форсунок других моделей.






