Корректор подачи топлива по давлению наддувочного воздуха
Корректор подачи топлива по давлению наддувочного воздуха (см. одноименный рисунок) уменьшает подачу топлива при снижении давления наддувочного воздуха ниже 40-45 кПа (0,4-0,45 кгс/см2), благодаря чему осуществляется тепловая защита двигателя и ограничивается дымность отработавших газов.

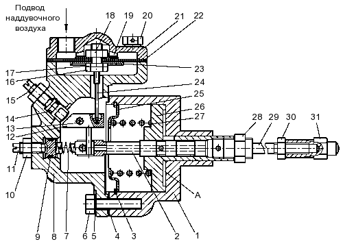
Рисунок 43 — Корректор подачи топлива по давлению наддувочного
воздуха
1 — корпус корректора; 2 — золотник корректора; 3 — кольцо упорное; 4
— прокладка корпуса мембраны; 5, 19 — шайбы; 6, 20 — болты; 7 — пружина
корректора; 8 — корпус мембраны; 9, 14 — кольца уплотнительные; 10, 16, 18, 28,
30 — гайки; 11, 15 — винты регулировочные; 12 — рычаг корректора; 13 — ось
рычага; 17 — втулка штока; 21 — крышка мембраны; 22 — мембрана; 23 — тарелка; 24
— шток мембраны; 25 — тарелка пружины; 26 — поршень корректора; 27 — пружина
поршня; 29 — шпилька; 31 — наконечник шпильки
В корпусе корректора 1 установлен поршень 26 с золотником 2. На поршень действует пружина 27, зафиксированная тарелкой 25 и кольцом 3. В поршень завернута и законтрена гайкой 28 шпилька 29 с наконечником 31, являющимся номинальным упором в регуляторе. Наконечник контрится гайкой 30. На золотник 2 действует пружина 7, предварительное натяжение которой может меняться регулировочным винтом 11. К корпусу корректора 1 через прокладку 4 прикреплен корпус мембраны 8. В него установлен узел мембраны со штоком (детали 16, 17, 18, 19, 22, 23, 24). Мембрана зажата между корпусом 8 и крышкой 21. В корпусе мембраны 8 на оси рычага 13 установлен рычаг корректора 12, поворот которого ограничен регулировочным винтом 15.
Корректор подачи топлива не прямого действия: при изменении давления наддувочного воздуха в полости мембраны меняется положение золотника, который, в свою очередь, определяет положение поршня корректора.
В полость «А» между корпусом корректора 1 и поршнем 26 через резьбовое отверстие и жиклер диаметром 0,7 мм в корпусе корректора (на рисунке не показаны) подается масло под давлением из системы смазки двигателя. Поршень под действием этого давления, сжимая пружину 27, перемещается влево до тех пор, пока не откроются окна в поршне и золотнике и масло не пойдет на слив. При этом устанавливается постоянный расход масла через корректор. При изменении положения золотника поршень перемещается вслед за ним (следящая система).
Через резьбовое отверстие крышки 21 в полость мембраны подводится воздух из впускного коллектора двигателя. При снижении давления воздуха ниже 0,04 МПа (0,4 кгс/см2) усилие пружины корректора 7, действующей на золотник становится больше усилия, создаваемого давлением наддувочного воздуха на мембрану и передающегося через шток мембраны и рычаг корректора также на золотник. Золотник перемещается вправо до тех пор, пока не наступит равновесие сил, действующих на него.
Регулировка корректора подачи топлива по давлению наддувочного воздуха
Корректор имеет две внешние регулировки — винты 11 и 15 (см. Рисунок 43 — Корректор подачи топлива по давлению наддувочного воздуха). Винтом 11 изменяется предварительное натяжение пружины 7 корректора, при этом меняется начало срабатывания корректора. Если необходимо увеличить величину давления наддувочного воздуха, при котором начинает срабатывать корректор, то винт 11 заворачивают, увеличивая предварительное натяжение пружины 7. Винтом 15 регулируется номинальная цикловая подача топлива. При выворачивании винта 15 подача топлива увеличивается.
Если возникла необходимость в снятии корректора, то предварительно необходимо замерить выступание наконечника 31 шпильки 29 относительно заднего торца корпуса ТНВД, а после установки корректора на место восстановить величину этого выступания и законтрить наконечник гайкой 30.






