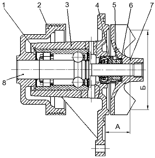
Водяной насос (см. Рисунок 60 — Водяной насос) центробежного типа установлен на корпусе водяных каналов системы охлаждения двигателя.
В корпус 3 запрессован радиальный шарико-роликовый подшипник 8, выполненный заодно с валиком. С обеих сторон торцы подшипника защищены резиновыми уплотнениями. Смазка в подшипник заложена заводом-изготовителем, и ее пополнение в процессе эксплуатации не требуется.
Упорное кольцо 1 препятствует перемещению наружной обоймы подшипника в осевом направлении. На концы валика подшипника напрессованы крыльчатка 7 и шкив 2. Сальник 4 запрессован в корпус насоса, а его кольцо скольжения постоянно прижато пружиной к кольцу скольжения 5, которое вставлено в крыльчатку через резиновую манжету 6. Кольцо скольжения 5 изготовлено из нержавеющей стали и подвергнуто закалке.
Высокое качество изготовления торцов колец скольжения обеспечивает надежное уплотнение жидкостной полости насоса. В корпусе насоса между подшипником и сальником выполнено два отверстия: нижнее и верхнее. Верхнее отверстие служит для вентиляции полости между подшипником и сальником, а нижнее — для контроля исправности торцового уплотнения. Подтекание жидкости из нижнего отверстия свидетельствует о неисправности уплотнения. В эксплуатации оба отверстия должны быть чистыми, т. к. их закупорка приведет к выходу из строя подшипника.

Рисунок 60 — Водяной насос
1 — кольцо упорное; 2 — шкив; 3 — корпус
насоса; 4 — сальник; 5 — кольцо скольжения; 6 — манжета; 7 — крыльчатка; 8 —
подшипник с валиком; А — размер для контроля при установке; Б — калибр
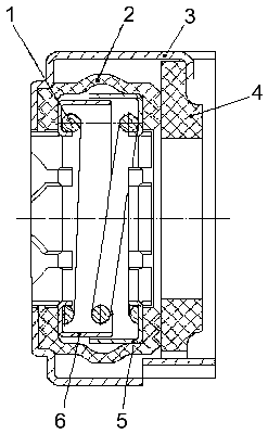
Сальник водяного насоса (см. Рисунок 62 — Сальник водяного насоса) состоит из латунного наружного корпуса 3, в который вставлена резиновая манжета 2.

Рисунок 62 — Сальник водяного насоса
1 — пружина; 2 — манжета; 3 —
корпус наружный; 4 — кольцо скольжения; 5 — каркас наружный; 6 — каркас
внутренний
Внутри манжеты размещена пружина 1 с внутренним 6 и наружным 5 каркасами. Пружина поджимает кольцо 4 скольжения. Кольцо скольжения изготовлено из графито-свинцового твердопрессованного антифрикционного материала.






