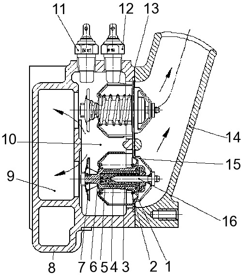
Термостаты (см. Рисунок 61 — Термостаты) типа ТС 107-01 с температурой начала открытия 80 ± 2 °С с твердым наполнителем и прямым ходом клапана установлены в водяной коробке и предназначены для автоматической регулировки теплового режима двигателя.
При температуре охлаждающей жидкости ниже 80 °С основной клапан 1 прижимается к седлу корпуса 15 пружиной 2 и перекрывает проход жидкости в радиатор.
Перепускной клапан 7 открыт и соединяет водяную коробку по перепускному каналу 9 с входом водяного насоса. При температуре охлаждающей жидкости выше 80 °С находящийся в баллоне 3 наполнитель 4 начинает плавиться, увеличиваясь в объеме. Наполнитель состоит из смеси 60 % церезина (нефтяного воска) и 40 % алюминиевой пудры. Давление от расширяющегося наполнителя через резиновую вставку 5 передается на поршень 16, который, выдавливаясь наружу, перемещает баллон 3 с основным клапаном 1, сжимая пружину 2. Между корпусом 15 и клапаном 1 открывается кольцевой проход жидкости в радиатор.
При температуре охлаждающей жидкости 93 °С происходит полное открытие термостата, клапан поднимается на высоту не менее 8,5 мм. Одновременно с открытием основного клапана вместе с баллоном перемещается перепускной клапан 7, который перекрывает отверстие в водяной коробке, соединяющее ее с входом водяного насоса.
При понижении температуры жидкости до 80 °С и ниже, под действием пружин 2 и 6 происходит возврат клапанов 1 и 7 в исходное положение.
Контроль за температурой охлаждающей жидкости на водяной коробке осуществляется датчиками 11 и 12. Датчик 12 выдает показания текущего значения температуры жидкости на панель приборов, датчик 11 служит сигнализатором перегрева жидкости. При возрастании температуры в системе охлаждения до 98-104 °С на панели приборов в указателе загорается сигнализатор аварийного перегрева охлаждающей жидкости.

Рисунок 61 — Термостаты
1 — основной клапан; 2 — пружина основного
клапана; 3 — баллон; 4 — наполнитель; 5 — резиновая вставка; 6 — пружина
перепускного клапана; 7 — перепускной клапан; 8 — водяная коробка; 9 — канал
перепуска жидкости на вход водяного насоса; 10 — канал выхода жидкости из
двигателя; 11 — датчик сигнализатора аварийного перегрева охлаждающей жидкости;
12 — датчик указателя температуры охлаждающей жидкости; 13 — прокладка; 14 —
патрубок отвода жидкости в радиатор; 15 — корпус; 16 —
поршень






