Расширительный бачок (см. Рисунок 59 — Схема системы охлаждения двигателя) установлен на кронштейне 6 трубной конструкции и служит для компенсации изменения объема охлаждающей жидкости при ее расширении от нагревания, а также позволяет контролировать степень заполнения системы охлаждения жидкостью и способствует удалению из нее воздуха и пара. Расширительный бачок изготовлен из латуни, вместимость бачка 16,5 л. В бачке выполнены две горловины: верхняя и боковая.
Боковая горловина закрывается герметичной крышкой 10 и служит для заливки охлаждающей жидкости и визуального контроля уровня жидкости в системе. Максимальный уровень определяется нижней кромкой боковой горловины, минимально допустимый уровень должен быть на 20-25 мм ниже кромки горловины. Слив охлаждающей жидкости из системы осуществляется через краник предпускового подогревателя и пробку 24.
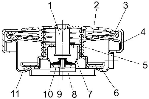
Пробка расширительного бачка (см. Рисунок 66 — Пробка расширительного бачка) с впускным 8 и выпускным 11 клапанами навинчивается на верхнюю горловину бачка.
Выпускной клапан прижат пружиной 5 к седлу горловины бачка, предохраняет систему охлаждения от избыточного давления и открывается при повышении давления в системе от 58 кПа (0,58 кгс/см2) до 80 кПа (0,8 кгс/см2). Впускной клапан 8 удерживается на седле пружиной 9, предохраняет систему от разряжения при остывании двигателя и открывает доступ воздуха в систему при разряжении до 1-12 кПа (0,01-0,12 кгс/см2).
Внимание. Не допускается открывать пробку расширительного бачка на горячем двигателе, т. к. при этом может произойти выброс горячей ОЖ и пара из горловины расширительного бачка. Эксплуатация автобуса без пробки расширительного бачка, а также с негодными резиновыми прокладками пробки не допускается.

Рисунок 66 — Пробка расширительного бачка
1 — стойка выпускного
клапана; 2 — пружина пробки; 3 — кольцо уплотнительное; 4 — корпус пробки; 5 —
пружина выпускного клапана; 6 — прокладка выпускного клапана; 7 — седло
впускного клапана; 8 — клапан впускной; 9 — пружина впускного клапана; 10 —
прокладка впускного клапана; 11 — клапан выпускной






