Прокачка гидросистемы привода сцепления
Прокачку гидросистемы следует выполнять для удаления воздушных пробок, возникающих вследствие нарушения герметичности гидравлического привода, в следующем порядке.
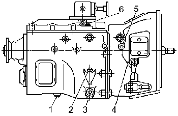
- Снять с бачка 5 (см. Рисунок 105 — Главный цилиндр сцепления) главного цилиндра крышку с пробкой 1 и заполнить бачок рабочей жидкостью до уровня не ниже (15-20) мм от верхней кромки заливной горловины бачка.
- Очистить от пыли и грязи защитный колпачок перепускного клапана, снять его
с клапана выпуска воздуха на пневмоусилителе и надеть на головку клапана
резиновый шланг для прокачки
гидропривода, прилагаемый к автобусу. Свободный конец шланга опустить в стеклянный сосуд вместимостью 0,5 л, наполненный тормозной жидкостью «Нева» на (1/4-1/3) высоты сосуда. - Отвернуть на (1/2-1) оборот клапан выпуска воздуха пневмоусилителя и последовательно резко нажимать на педаль сцепления до упора ее на ограничитель хода педали с интервалами между нажатиями (0,5-1) секунд до прекращения выделения пузырьков воздуха из рабочей жидкости, поступающей по шлангу в сосуд.
- Добавлять в процессе прокачки рабочую жидкость в систему, не допуская снижения уровня жидкости ниже 40 мм от верхней кромки заливной горловины во избежание попадания в систему воздуха.
- По окончании прокачки при нажатой до упора педали сцепления завернуть полностью клапан выпуска воздуха пневмоусилителя. При надетом на него шланге, свободный конец которого опущен в тормозную жидкость, снять с головки клапана шланг, надеть колпачок.
- Долить свежую рабочую жидкость в бачок до нормального уровня (15-20) мм от верхней кромки заливной горловины бачка.
Слить жидкость из системы гидропривода через клапан выпуска воздуха пневмоусилителя, отвернув его на (1/2-1) оборот, нажатием педали сцепления. После заправки гидросистемы прокачать ее. Качество прокачки определяется величиной полного хода толкателя пневмоусилителя.
Примечание. Тормозная жидкость, которая выпущена из гидросистемы при прокачке, может быть использована вновь после отстоя для полного удаления содержащегося в ней воздуха и последующей фильтрации.
При заливке тормозной жидкости применяйте сетчатый фильтр во избежание попадания в гидросистему посторонних примесей. Смазывание сцепления (см. Рисунок 107 — Точки смазывания). Втулки вала вилки выключения сцепления нужно смазывать с помощью двух пресс-масленок 4, а подшипник муфты выключения сцепления с помощью пресс-масленки 5, сделав шприцем не более трех ходов. В противном случае излишки смазочного материала могут попасть в картер сцепления.

Рисунок 107 —
Точки смазывания
1 — пробка сливная; 2 — пробка заливная с указателем; 3 —
пробка сливная с магнитом; 4 — пресс-масленка; 5 — пресс-масленка выжимного
подшипника; 6 — предохранительный клапан
Замена пневмоусилителя привода сцепления
При замене пневмоусилителя привода сцепления необходимо: выпустить воздух из контура IV привода вспомогательной тормозной системы и других потребителей через клапан на ресивере; снять отжимную пружину рычага вала вилки выключения сцепления, отсоединить воздушный трубопровод пневмоусилителя, гидравлический шланг и слить жидкость из системы гидропривода; вывернуть болты крепления пневмоусилителя и снять усилитель со штоком.
Для установки пневмоусилителя нужно: закрепить усилитель болтами с пружинными шайбами; подсоединить гидравлический шланг пневмоусилителя и воздушный трубопровод; установить отжимную пружину вала вилки выключения сцепления. Налить тормозную жидкость в компенсационный бачок главного цилиндра и прокачать систему гидропривода. Проверить герметичность соединений топливных трубок (подтекание тормозной жидкости из соединений не допускается), при необходимости устранить нарушение герметичности подтяжкой или заменой отдельных элементов соединений.
Снятие сцепления мод. 142 и 17
Для снятия сцепления мод. 142 и 17 с двигателя после отсоединения коробки передач нужно: ввернуть предварительно в нажимной диск до упора в кожух четыре стяжных болта М10×1,25×62, а затем вывернуть болты крепления кожуха сцепления к маховику и снять кожух с нажимным диском в сборе, средний и ведомые диски сцепления.
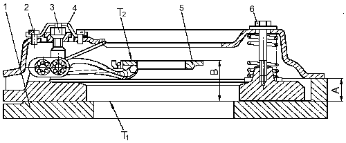
В случае замены отдельных деталей сцепления проверить перед его установкой на двигатель положение упорного кольца отжимных рычагов. Для проверки нажимной диск в сборе надо установить и закрепить на контрольной подставке (см. Рисунок 108 — Нажимной диск с кожухом в сборе на контрольной подставке) или на маховике со вставкой, обеспечивающих установочный размер А = (29 ± 0,1) мм, и отпустить стяжные болты.
Правильное положение упорного кольца определяется монтажным размером В = (54 ± 0,3) мм, биение торца Т2 относительно торца T1 должно быть не более 0,2 мм.
При нарушении положения упорного кольца нужно отрегулировать положение кольца на приспособлении с помощью гаек 3, восстановив размер В, при этом опорные поверхности всех четырех отжимных рычагов должны одновременно касаться упорного кольца с помощью указанных гаек на двигателе.
Перед установкой сцепления на двигатель в полость переднего подшипника первичного вала, расположенную в коленчатом валу, надо заложить 15 г смазки № 158.
Устанавливать сцепление следует с помощью шлицевой оправки, обеспечивающей соосное расположение ведомых дисков с осью коленчатого вала. Необходимо обращать внимание на правильное взаимное расположение ступиц ведомых дисков — короткими выступающими торцами навстречу друг другу. Средний ведущий диск в сборе должен легко перемещаться в пазах маховика под действием отжимных рычагов. При установке среднего ведущего диска поверхность концов отжимных рычагов нужно смазать смазкой № 158. Нажимной диск с кожухом в сборе устанавливается на маховик двигателя также без дополнительной подгонки, но без перекосов, добиваясь этого равномерной затяжкой болтов крепления с моментом 53,9-61,1 Н.м (5,5-6,3 кгс.м). После того, как будут затянуты болты крепления кожуха к маховику, вывернуть из нажимного диска стяжные болты.
Биение упорного кольца отжимных рычагов относительно оси коленчатого вала должно быть не более 0,5 мм.

Рисунок 108 —
Нажимной диск с кожухом в сборе на контрольной подставке
1 — подставка
контрольная; 2 — болт; 3 — гайка регулировочная; 4 — пластина стопорная; 5 —
кольцо упорное; 6 — болт стяжной; А — размер установочный; В — размер монтажный;
Т1, Т2 — биение торцовое
Порядок установки вытяжного сцепления мод. MFZ 430
Порядок установки вытяжного сцепления мод. MFZ 430 на двигатель следующий:
- ведомый диск 3 (см. Рисунок 99 — Механизм сцепления мод. MFZ 430) сцентрировать с помощью оправки, обеспечив ориентацию длинной частью ступицы в сторону коробки передач;
- нажимной диск сцепления устанавливается на маховик без муфты выключения сцепления, которая установлена на направляющей поверхности задней крышки коробки передач. После затяжки болтов крепления кожуха к маховику оправка должна легко выниматься из ступицы ведомого диска;
- застегнуть запорное кольцо «булавочного типа» на диафрагме;
- подвести и состыковать коробку передач к сцеплению, затянуть болты крепления картера сцепления к картеру маховика. Через нижний люк монтажным ломиком упереться в муфту выключения сцепления и вдавить ее в диафрагму до характерного щелчка запорного кольца (булавки).
При снятии коробки передач необходимо отсоединить пневмогидроусилитель от коробки передач и отвести коробку от двигателя.
Для снятия муфты необходимо «расстегнуть булавку» кольца и при помощи монтажного ломика осторожными нажатиями отсоединить муфту сцепления от диафрагмы.
При снятии сцепления с двигателя после отсоединения коробки передач выверните болты крепления кожуха к маховику, соблюдая при этом крестообразную схему (Рисунок 109 — Схема затяжки (откручивания) болтов крепления кожуха к маховику) откручивания болтов, снимите кожух с нажимным диском и упругий ведомый диск сцепления.
Перед установкой сцепления на двигатель в полость переднего подшипника первичного вала, расположенного в коленчатом валу, заложите 15 г смазки Лита.

Рисунок 109 —
Схема затяжки (откручивания) болтов крепления кожуха к
маховику






