Механизм сцепления мод. 142 и мод17
Механизм сцепления мод. 142 имеет следующие конструктивные отличия от сцепления мод. 17: наличие — механизма 24 (см. Рисунок 97 — Механизм сцепления мод. 142) для автоматической установки среднего ведущего диска в среднее положение при выключении сцепления (не требующего регулирования в процессе эксплуатации); термостойкой накладки ведомого диска с большим сроком службы; определенной формы кожуха, обеспечивающей фиксацию нажимных пружин, наличие внутренних пружин в гасителе крутильных колебаний и нажимной пружине. Различие в конструкциях механизмов сцеплений мод. 17 и 142 приведены на одноименных рисунках.
Ведущие диски, нажимной 3 и средний 2, имеют на наружной поверхности по четыре шипа, которые входят в специальные пазы маховика и передают крутящий момент двигателя на поверхности трения ведомых дисков 1 с фрикционными накладками, ступицы которых установлены на шлицах первичного вала 20 коробки передач. Штампованный кожух 16 сцепления установлен на маховике 19 с помощью втулок и закреплен десятью болтами М10 и двумя — М8. Между кожухом и нажимным диском размещены нажимные пружины 15, под действием которых ведомые диски зажимаются между нажимным и средним ведущими дисками, и маховиком.
Средний ведущий диск 2 имеет рычажный механизм 24. Он автоматически устанавливает диск 2 в среднее положение при выключении сцепления. Возможен вариант исполнения среднего ведущего диска без установки рычажного механизма, как показано на рисунке.
Выключающее устройство сцепления состоит из установленных на нажимном диске 3 отжимных рычагов 4 с упорным кольцом 13, муфты 11 выключения сцепления с подшипником, смонтированной на крышке подшипника первичного вала коробки передач, и вилки 12 выключения, размещенной на валу 14 в картере сцепления.

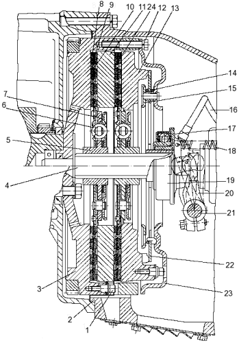
Рисунок 97 — Механизм сцепления мод. 142
1 — ведомые диски; 2 —
ведущий средний диск; 3 — нажимной диск; 4 — отжимной рычаг; 5 — вилка отжимного
рычага; 6 — пружина упорного кольца; 7 — шланг для смазывания муфты; 8 — петля
пружины; 9 — выжимной подшипник; 10 — отжимная пружина; 11 — муфта выключения
сцепления; 12 — вилка выключения сцепления; 13 — упорное кольцо; 14 — вал вилки;
15 — нажимные пружины; 16 — кожух сцепления; 17 — болт крепления кожуха; 18 —
картер сцепления; 19 — маховик; 20 — первичный вал; 21 — диск гасителя
крутильных колебаний; 22 — пружины гасителя крутильных колебаний; 23 — кольцо
ведомого диска; 24 — механизм для автоматической регулировки положения среднего
ведущего диска

Рисунок 98 — Механизм сцепления мод. 17
1 — винт; 2 — картер
сцепления; 3 — маховик; 4 — первичный вал; 5, 7 — ступицы ведомых дисков; 6 —
пружина гасителя крутильных колебаний; 8 — фрикционная накладка; 9 — ведомый
диск жесткий; 10 — ограничительный палец; 11 — средний ведущий диск; 12 — болт;
13 — нажимной диск; 14 — кольцо диафрагмы; 15 — кольцо опорное; 16 — шланг
смазывания муфты; 17 — подшипник; 18 — пружина оттяжная; 19 — муфта выключения
сцепления; 20 — вилка выключения сцепления; 21 — вал вилки выключения сцепления;
22 — нажимная диафрагменная пружина; 23 — кожух сцепления; 24 — ведомый диск
мягкий

Рисунок 100 —
Привод сцепления мод. 142 и 17
1 — педаль; 2 — главный цилиндр; 3 — нижний
упор; 4 — кронштейн; 5 — компенсационный бачок; 6 — трубка подачи жидкости; 7 —
рычаг; 8 — толкатель поршня главного цилиндра; 9 — эксцентриковый палец; 10 —
верхний упор; 11 — отжимная пружина; 12 — трубка подвода воздуха; 13 — клапан
выпуска воздуха; 14 — сферическая регулировочная гайка; 15 — толкатель поршня
пневмоусилителя; 16 — защитный чехол; 17 — пневмоусилитель; I — сжатый
воздух
|
Размеры деталей механизма сцепления мод. 142 | ||
|
Наименование параметра |
номинальный |
допустимый |
|
Диаметр отверстия нажимного диска под ось отжимного рычага |
10,800-10,835 |
10,850 |
|
Ширина паза нажимного диска под отжимной рычаг |
12,060-12,180 |
12,200 |
|
Неплоскостность рабочей поверхности нажимного диска |
0,07 |
0,09 |
|
Диаметр отверстия отжимного рычага под игольчатые подшипники |
14,860-14,880 |
14,995 |
|
Толщина отжимного рычага |
11,820-11,940 |
11,800 |
|
Диаметр отверстий вилки рычага под ось отжимного рычага |
10,800-10,835 |
10,850 |
|
Ширина паза вилки рычага под отжимной рычаг |
12,060-12,180 |
12,200 |
|
Толщина упорного кольца под отжимные рычаги |
5,920-6,080 |
5,800 |
|
Высота нажимной пружины: |
102 |
при ремонте з |
|
Биение рабочих поверхностей фрикционных накладок |
0,5 |
0,6 |
|
Неплоскостность рабочих поверхностей фрикционных накладок ведомого диска |
0,25 |
0,30 |
|
Ширина шлицевой впадины ступицы ведомого диска |
6,000-6,050 |
6,100 |
|
Диаметр шеек вала вилки выключения сцепления под вилку и втулку опор картера сцепления |
24,870-24,940 |
24,790 |
|
Диаметр шейки муфты выключения сцепления под подшипник |
70,010-70,030 |
70,010 |
|
Диаметр отверстия муфты выключения сцепления |
55,000-55,120 |
55,200 |
|
Наружный диаметр втулки вала вилки выключения сцепления |
31,060-31,110 |
31,060 |
|
Внутренний диаметр втулки вала вилки выключения сцепления |
25,025-25,085 |
25,100 |
|
Диаметр отверстия отжимного рычага ведущего среднего диска под втулку |
16,000-16,035 |
16,050 |
|
Наружный диаметр втулки рычага |
15,930-15,980 |
15,900 |
|
Внутренний диаметр втулки рычага |
13,000-13,070 |
13,100 |






