Пневмоусилитель привода сцепления служит для уменьшения усилия, необходимого для выключения сцепления.
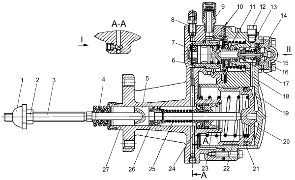
Пневмоусилитель привода сцепления мод. 142 и 17 (см. одноименный рисунок) прикреплен двумя болтами к фланцу картера сцепления с правой стороны силового агрегата.

Рисунок 102 — Пневмоусилитель привода сцепления мод. 142 и 17
I —
сферическая гайка; 2 — контргайка; 3 — толкатель поршня выключения сцепления; 4
— защитный чехол; 5 — поршень выключения сцепления; 6 — корпус следящего поршня;
7, 21, 24, 26 — манжеты; 8 — перепускной клапан; 9 — сапун; 10 — мембрана
следящего устройства; 11 — седло мембраны; 12 — пробка; 13 — возвратная пружина;
14 — крышка подвода воздуха; 15 — стержень клапанов; 16 — впускной клапан; 17 —
выпускной клапан; 18 — пружина мембраны; 19 — передний корпус; 20 —
пневматический поршень; 22 — пружина поршня; 23 — корпус уплотнения поршня; 25 —
крышка подвода воздуха; 27 — задний корпус; I — подводтормозной жидкости; II —
подвод воздуха
Пневмоусилитель ф. «Wabco...» привода сцепления мод. MFZ 430 (см. одноименный рисунок) крепится болтами к картеру коробки передач снизу.

Рисунок 103 — Пневмогидравлический усилитель ф. «Wabco»
1 — корпус
гидравлический; 2 — поршень; 3 — манжета; 4 — указатель износа накладок; 5 —
шайба указателя; 6 — корпус указателя; 7, 10 — пружины поджимные; 8 —
пневмопоршень; 9 — пневмоцилиндр; 11 — чехол; 12 — шток; 13 — трубка дренажная;
А — зазор при износе накладок; I — следящая система

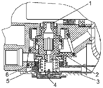
Рисунок 104 — Следящая система
1 — поршень гидравлический; 2 — поршень
пневматический; 3 — крышка; 4 — сапун; 5 — клапан; 6 — корпус следящей
системы
Устройство и принцип работы пневмогидроусилителя ф. «Wаbсо...» приведены в Приложении АА.






