Механизм сцепления мод. MFZ 430 ф. «ZF Sachs» (или ф. «LUK»), Германия — однодисковое, диафрагменное, вытяжного типа.
Особенностью механизма сцепления типа мод. MFZ 430 является то, что для выключения сцепления применен привод без зазора между муфтой выключения сцепления и диафрагмой
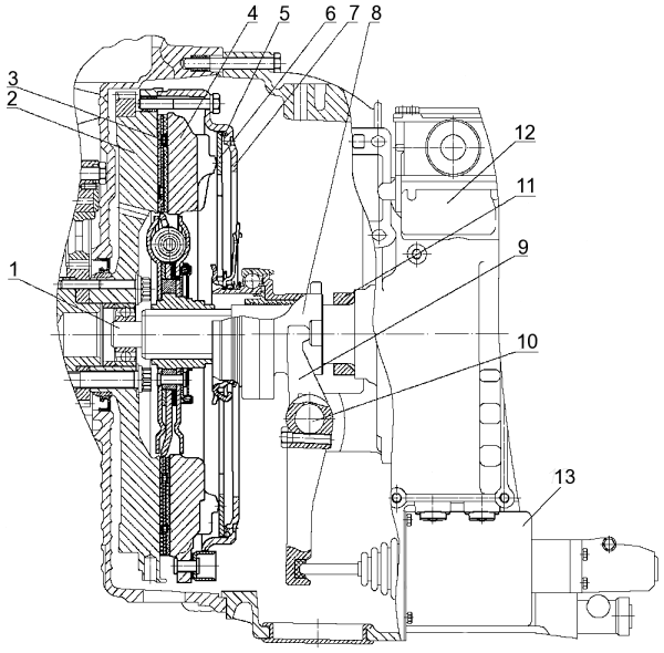
Нажимной диск 4 (см. Рисунок 101 — Привод сцепления мод. MFZ 430) через четыре пакета соединительных пластин крепится заклепками к чашеобразным втулкам, которые установлены в кожух 7 сцепления.
Крутящий момент от двигателя через маховик 2 передается на кожух сцепления и через чашеобразные втулки на нажимной диск сцепления и далее на поверхность трения ведомого диска 3, ступица которого установлена на шлицы ведущего (первичного) вала 1 коробки передач. Штампованный кожух устанавливается на маховик с помощью двенадцати болтов М10. Между кожухом и нажимным диском размещена диафрагменная пружина 6 вытяжного типа, под действием которой ведомый диск зажимается между нажимным диском и маховиком.
Выключающее устройство сцепления состоит из двадцати четырех лепестков диафрагмы и муфты 8 выключения сцепления, установленной непосредственно на самих лепестках диафрагмы при помощи запорного кольца «булавочного» типа.
Смазка подшипника муфты выключения и вала вилки выключения сцепления в период эксплуатации не предусмотрена.
Привод сцепления (см. одноименные рисунки), предназначенный
для дистанционного управления сцеплением, — гидравлический, снабженный
пневмоусилителем, состоит из педали 1 сцепления с отжимной пружиной 11, главного
цилиндра 2, трубок и шлангов для подачи рабочей жидкости от главного цилиндра к
усилителю
сцепления, трубки подвода воздуха от пневмопривода тормозных
механизмов к усилителю сцепления.
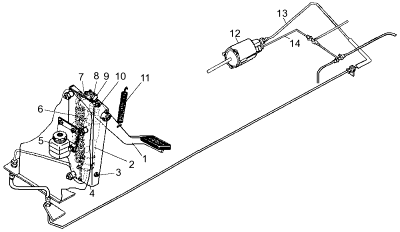
В приводе управления сцеплением для уменьшения усилия на педали введена дополнительно сервопружина, прикрепленная одним концом к верхней части педали, другим — к кронштейну.
Педаль сцепления расположена слева впереди водителя и установлена на кронштейне 4, закрепленном на передней панели кабины водителя. Ось педали установлена в двух приваренных к кронштейну опорах и зафиксирована в одной из них шплинтом. Педаль вращается на оси, на втулке из антифрикционного материала. Ось смазывается смазкой № 158, закладываемой при сборке. Ход педали определяется двумя ограничителями, привернутыми к кронштейну. Ограничитель, расположенный в средней части кронштейна, ограничивает ход педали при движении ее вниз (при выключении сцепления), а ограничитель, расположенный в верхней части кронштейна, — при движении ее вверх (при отпускании педали и включении сцепления). Педаль постоянно поджимается к верхнему ограничителю хода пружиной.
К ступице педали приварен рычаг толкателя поршня главного цилиндра. В
проушину рычага устанавливается эксцентриковый палец, предназначенный для
соединения с проушиной толкателя и обеспечения регулировки зазора между
толкателем и поршнем главного цилиндра при отпущенной педали сцепления.

Рисунок 99 —
Механизм сцепления мод. MFZ 430
1 — ведущий вал; 2 — маховик; 3 — ведомый
диск; 4 — нажимной диск; 5 — упорное кольцо; 6 — диафрагма; 7 — кожух сцепления;
8 — муфта выключения сцепления; 9 — вилка выключения сцепления; 10 — вал вилки
выключения сцепления; 11 — кольцо ограничительное; 12 — коробка передач; 13 —
пневмогидроусилитель фирмы «WABCO»

Рисунок 101 —
Привод сцепления мод. MFZ 430
1 — педаль; 2 — главный цилиндр; 3 — нижний
упор; 4 — кронштейн; 5 — компенсационный бачок; 6 — сервопружина; 7 — рычаг; 8 —
толкатель поршня главного цилиндра; 9 — эксцентриковый палец; 10 — верхний упор;
11 — отжимная пружина; 12 — пневмоусилитель фирмы «WABCO»; 13 — трубка подачи
жидкости; 14 — трубка подвода воздуха






