Система питания топливом обеспечивает очистку топлива и равномерное распределение его по цилиндрам двигателя дозированными порциями и в строго определенные моменты времени.

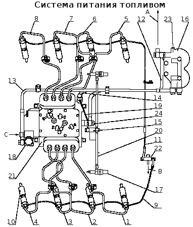
Система питания двигателя топливом: 1...8 — трубки топливные высокого давления; 9 — трубка топливная дренажная форсунок левых головок; 10 — форсунка; 11 — трубка топливная дренажная форсунок правых головок; 12 — трубка топливная отводящая ТНВД; 13 — трубка отводящая топливного насоса; 14 — трубка топливная подводящая ТНВД; 15 — клапан ЭФУ; 16 — фильтр тонкой очистки топлива; 17 — свеча факельная; 18 — топливоподкачивающий насос; 19 — трубка подвода топлива к клапану ЭФУ; 20 — трубка топливная от магнитного клапана к штифтовым свечам; 21 — ТНВД; 22 — тройник; 23 — клапан-жиклер; 24 — перепускной клапан ТНВД; А, В - слив топлива в бак; С - подвод топлива от фильтра грубой очистки топлива.
На двигателях КамАЗ применена система питания топливом разделенного типа, состоящая из ТНВД мод. типа 337 с регулятором частоты вращения, топливоподкачивающим насосом, форсунок, фильтров грубой и фильтров тонкой очистки, насоса предпусковой прокачки, топливных трубок высокого и низкого давления, электромагнитного клапана и факельных свечей ЭФУ.
Фильтр грубой очистки топлива и насос предпусковой прокачки топлива должны быть установлены в системе питания топливом объекта, на котором применяется двигатель.
Топливо из бака подается через фильтр грубой очистки и насос предпусковой прокачки 18 топливоподкачивающим насосом в фильтр 16 тонкой очистки. Из фильтра тонкой очистки по топливной трубке низкого давления 14 топливо поступает в ТНВД 21, который в соответствии с порядком работы цилиндров распределяет топливо по трубкам 1-8 высокого дав ления к форсункам 10. Форсунки впрыскивают топливо в камеры сгорания. Избыточное топливо, а вместе с ним попавший в систему воздух через перепускной клапан ТНВД 24 по трубке 12 и клапан - жиклер 23 фильтра тонкой очистки отводится в топливный бак.
Топливные трубки подразделяются на топливные трубки низкого давления - 0,4-2 МПа (4-20 кгс/см2) и высокого давления более 20 МПа (200 кгс/см2).
Топливопроводы низкого давления изготовлены из стальной трубы сечением 10x1 мм с припаянными наконечниками.
Топливные трубки высокого давления равной длины (1 = 615 мм), изготовлены из стальных трубок внутренним диаметром 2+0,05 мм путем высадки на концах соединительных конусов с обжимными шайбами и накидными гайками для соединения со штуцерами ТНВД и форсунок.
Во избежание поломок от вибрации, топливные трубки дополнительно закреплены скобами к впускным коллекторам.






