Фильтр тонкой очистки топлива (см. рис. Фильтр тонкой очистки) окончательно очищает топливо перед поступлением в ТНВД. Он установлен в самой высокой точке системы питания топливом для сбора и удаления в бак воздуха вместе с частью топлива, через клапан - жиклер, установленный в корпусе фильтра. При давлении в полости подвода топлива 25-45 кПа (0,25-0,45 кгс/см2) происходит сдвиг клапана, а при давлении 200-240 кПа (2-2,4 кгс/см2) клапан полностью открывается, обеспечивая перепуск топлива в бак.

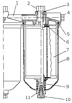
Фильтр тонкой очистки топлива: 1 — крышка; 2 — болт; 3 — уплотнительная шайба; 4 — пробка; 5, 6 — прокладки; 7 — фильтрующий элемент; 13 — пружина фильтрующего элемента; 10 — пробка сливного отверстия; 11 — стержень.
Внимание! При замене фильтрующих элементов необходимо строго соблюдать правила обслуживания системы питания топливом. Не допускается попадание загрязнений в систему питания двигателя топливом. Необходимо применять в фильтре тонкой очистки топлива фильтрующие элементы только разрешенных моделей, а именно: 740.1117040-01, 740.1117040-02, 740.1117040-04.






