Гаситель крутильных колебаний закреплен восемью болтами 2 (рис. Установка гасителя крутильных колебаний коленчатого вала) на переднем носке коленчатого вала. С целью исключения повреждения поверхности корпуса гасителя под болты устанавливается шайба 5. Гаситель состоит из корпуса (см. рисунок) в который установлен с зазором маховик. Снаружи корпус гасителя закрыт крышкой. Герметичность обеспечивается закаткой (сваркой) по стыку корпуса гасителя и крышки. Между корпусом гасителя и маховиком находится высоковязкостная силиконовая жидкость, дозированно заправленная перед заваркой крышки.
Центровка гасителя осуществляется шайбой, приваренной к корпусу (рис. Гаситель крутильных колебаний коленчатого вала). Гашение крутильных колебаний коленчатого вала происходит путем торможения корпуса гасителя, закрепленного на носке коленчатого вала, относительно маховика в среде силиконовой жидкости. При этом энергия торможения выделяется в виде теплоты. При проведении ремонтных работ категорически запрещается деформировать корпус и крышку гасителя. Гаситель с деформированным корпусом или крышкой к дальнейшей эксплуатации не пригоден.

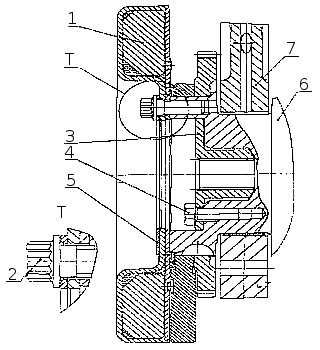
Установка гасителя крутильных колебаний коленчатого вала: 1 — гаситель; 2 — болт крепления гасителя; 3 — полумуфта отбора мощности; 4 — болт крепления полумуфты; 5 — шайба; 6 — коленчатый вал; 7 — блок цилиндров

Гаситель крутильных колебаний коленчатого вала






