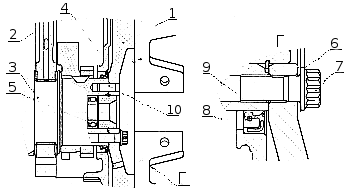
Маховик 1 (см. рис. Маховик) закреплен восемью болтами 7 (Рис. Установка маховика и манжеты уплотнения коленчатого вала), изготовленными из легированной стали с двенадцатигранной головкой, на заднем торце коленчатого вала и точно зафиксирован двумя штифтами 10 и установочной втулкой 3 (см. рис. Маховик).

Маховик

Установка маховика и манжеты уплотнения коленчатого вала: 1 — маховик; 2 — блок цилиндров; 3 — коленчатый вал; 4 — картер маховика; 5 — подшипник первичного вала коробки передач; 6 — шайба; 7 — болт крепления маховика; 8 — манжета уплотнения коленчатого вала; 9 — пыльник манжеты; 10 — штифт установочный маховика.
С целью исключения повреждения поверхности маховика под головки болтов устанавливается шайба 6 (Рис. Установка маховика и манжеты уплотнения коленчатого вала). Величина моментов затяжки болтов крепления маховика указана в приложении 8. На обработанную цилиндрическую поверхность маховика напрессован зубчатый венец 2, с которым входит в зацепление шестерня стартер при пуске двигателя (см. рис. Маховик).
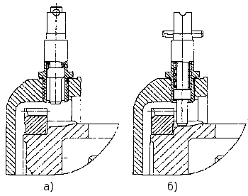
При выполнении регулировочных работ по установке угла опережения впрыска топлива и величин тепловых зазоров в клапанах маховик фиксируется при помощи фиксатора (Рис. Положения ручки фиксатора маховика).

Положения ручки фиксатора маховика: а) — при эксплуатации; б) — при регулировке, в зацеплении с маховиком.
При этом конструкция имеет следующие основные отличия от серийной:
- изменен угол расположения паза под фиксатор на наружной поверхности маховика;
- увеличен диаметр расточки для размещения шайбы под болты крепления маховика.
Рассматриваемые двигатели КамАЗ могут комплектоваться различными типами сцеплений. На рис. Маховик показан маховик для диафрагменного сцепления.






