Коленчатый вал (см. рис.) изготовлен из высококачественной стали и имеет пять коренных и четыре шатунные шейки, закаленных ТВЧ, которые связаны между собой щеками и сопрягаются с ними переходными галтелями. Для равномерного чередования рабочих ходов расположение шатунных шеек коленчатого вала выполнено под углом 90°.

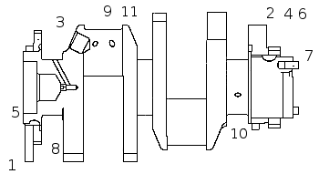
Коленчатый вал: 1 — противовес коленчатого вала передний; 2 — противовес коленчатого вала задний; 3 — шестерня привода масляного насоса; 4 — шестерня привода газораспределительного механизма; 5,6 — шпонка; 7 — штифт; 8 — жиклер; 9 — облегчающие отверстия; 10 — отверстия подвода масла в коренных шейках; 11 — отверстия подвода масла к шатунным шейкам.
К каждой шатунной шейке присоединяются два шатуна: один для правого и один для левого рядов цилиндров (Шатун).
Подвод масла к шатунным шейкам производится от отверстий в коренных шейках 10 прямыми отверстиями 11.
Для уравновешивания сил инерции и уменьшения вибраций коленчатый вал имеет шесть противовесов, отштампованных заодно со щеками коленчатого вала. Кроме основных противовесов, имеются два дополнительных съемных противовеса 1 и 2, напрессованных на вал, при этом их угловое расположение относительно коленчатого вала определяется шпонками 5 и 6 (рис. Коленчатый вал).
В расточку хвостовика коленчатого вата запрессован шариковый подшипник 5 (Рис. Установка упорных полуколец и вкладышей подшипников коленчатого вала).

Установка упорных полуколец и вкладышей подшипников коленчатого вала: 1 — полукольцо упорного подшипника коленчатого вала верхнее; 2 — полукольцо упорного подшипника коленчатого вала нижнее; 3 — вкладыш подшипника коленчатого вала верхний; 4 — вкладыш подшипника коленчатого вала нижний; 5 — блок цилиндров; 6 — крышка подшипника коленчатого вала задняя; 7 — коленчатый вал.
В полость переднего носка коленчатого вала ввернут жиклер 8, через калибровонное отверстие которого осуществляется смазка шлицевого валика отбора мощности на привод гидромуфты.
От осевых перемещений коленчатый вал зафиксирован двумя верхними полукольцами и двумя нижними полукольцами 2 (Рис. Установка упорных полуколец и вкладышей подшипников коленчатого вала), установленными в проточках задней коренной опоры блока цилиндров, так, что сторона с канавками прилегает к упорным торцам вала. На переднем и заднем носках коленчатого вала (рис. Коленчатый вал) установлены шестерня 3 привода маслянс насоса и ведущая шестерня 4 привода распределительного вала. Задний торец коленчатого вала имеет восемь резьбовых отверстий для болтов крепления маховика, передний носок коленчатого вала имеет восемь отверстий для крепления гасителя крутильных колебаний.
Уплотнение коленчатого вала осуществляется резиновой манжетой 8 (Рис.Установка маховика и манжеты уплотнения коленчатого вала), с дополнительным уплотняющим элементом - пыльником 9. Манжета размещена в картере маховика 4. Манжета изготовлена из фторкаучука по технологии формования рабочей уплотняющей кромки непосредственно в прессформе.

Установка маховика и манжеты уплотнения коленчатого вала: 1 — маховик; 2 — блок цилиндров; 3 — коленчатый вал; 4 — картер маховика; 5 — подшипник первичного вала коробки передач; 6 — шайба; 7 — болт крепления маховика; 8 — манжета уплотнения коленчатого вала; 9 — пыльник манжеты; 10 — штифт установочный маховика.
Диаметры шеек коленчатого вала: коренных 95±0,011 мм. шатунных 80±0,0095 мм.
Для восстановления двигателя КамАЗ предусмотрены восемь ремонтных размеров вкладышей. Обозначение вкладышей подшипников коленчатого вала, диаметр коренной шейки коленчатого вала, диаметр отверстия в блоке цилиндров под эти вкладыши указаны в приложении 1.
Обозначение вкладышей нижней головки шатуна, диаметр шатунной шейки коленчатого вала, диаметр отверстия в нижней головке шатуна под эти вкладыши указаны в приложении 2.
Вкладыши 7405.1005170 Р0, 7405.1005171 Р0, 7405.1005058 Р0 применяются при восстановлении двигателя без шлифовки коленчатого вала. При необходимости шейки коленчатого вала заполировываются. Допуски на диаметры шеек коленчатого вала, отверстий в блоке цилиндров и отверстий в нижней головке шатуна при проведении ремонта двигателя должны быть такими же, как у номинальных размеров новых двигателей.






