Сменить фильтрующие элементы фильтра тонкой очистки топлива (см. Рисунок 46 — Фильтр тонкой очистки топлива).
Для смены фильтрующих элементов необходимо:
- вывернуть на два-три оборота сливные пробки и слить топливо из фильтров в посуду, затем ввернуть пробки;
- вывернуть болты крепления колпаков фильтра, снять колпаки и удалить загрязненные фильтрующие элементы;
- промыть колпаки дизельным топливом;
- установить в каждый колпак новый фильтрующий элемент с уплотнительными прокладками, установить колпаки с элементами и затянуть болты;
- прокачать систему насосом предпусковой прокачки топлива;
- пустить двигатель и убедиться в герметичности фильтра.
Подтекание топлива устранить подтяжкой болтов крепления колпаков.
Промыть фильтр грубой очистки топлива. Для промывки фильтра грубой очистки топлива выполнить следующее:
- слить топливо из фильтра, ослабив сливную пробку;
- вывернуть четыре болта крепления стакана к корпусу фильтра и снять стакан вместе с фланцем;
- вывернуть фильтрующий элемент из корпуса;
- промыть сетку фильтрующего элемента и полость стакана бензином или дизельным топливом, продуть сжатым воздухом;
- надеть на фильтрующий элемент уплотнительную шайбу, распределитель и ввернуть фильтрующий элемент в корпус;
- установить стакан фильтра и закрепить его болтами; затянуть сливную пробку;
- убедиться в отсутствии подсоса воздуха через фильтр при работающем двигателе (в случае необходимости устранить подсос подтягиванием болтов крепления стакана к корпусу).
Провести техническое обслуживание фильтра «Separ 2000» (при его использовании) в соответствии с инструкцией по его применению (см. Приложение V).
Проверка и, при необходимости, регулирование угла опережения впрыскивания топлива производится с использованием моментоскопа (см. Рисунок 90 — Схема установки моментоскопа), для чего необходимо: прогреть двигатель; отсоединить трубку 3 высокого давления восьмой секции ТНВД (см. Рисунок 88 — Схема нумерации цилиндров двигателя и расположение секций ТНВД.
Техническое обслуживание ТНВД двигателя. Проверить и отрегулировать топливный насос высокого давления. В процессе эксплуатации топливного насоса высокого давления при износе основных деталей нарушаются регулировочные параметры ТНВД. Для снижения износов прецизионных деталей не допускается работа ТНВД без фильтрующих элементов или с засоренными фильтрами тонкой очистки топлива.
Проверить и отрегулировать автоматическую муфту опережения впрыскивания топлива (на двигателях мод. 740.11-240 — при наличии). Для регулирования автоматической муфты опережения впрыскивания топлива — изменения угла разворота ведомой полумуфты относительно ведущей полумуфты при частоте вращения кулачкового вала насоса 1300 мин-1 и номинальной подаче топлива — используйте стенд, оборудованный топливным насосом высокого давления с постоянным положением реек, отрегулированным на номинальную производительность, и комплектом форсунок. Углы разворота полумуфт регулируются прокладками, устанавливаемыми одновременно одинаковой толщины под каждую пружину. Углы разворота полумуфт при включенной подаче топлива должны соответствовать значениям, приведенным в таблице 18.
Таблица 18 — Углы разворота полумуфт вращения кулачкового вала в зависимости от частоты
|
Частота |
Угол р |
|
1100 ± 10 |
(1,0 ± 0,5)° |
|
900 ± 10 |
(0,5 ± 0,5)° |
|
600 ± 10 |
0° |
Увеличение суммарной толщины прокладок вызывает уменьшение угла разворота полумуфт.
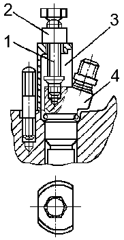
Проверить и отрегулировать давление начала впрыскивания форсунок. Для снятия форсунки съемником И801.11.000 (Рисунок 92 — Снятие форсунки с двигателя съемником И801.11.000) установите стойку 3 над форсункой 4, вверните винт 1 в корпус форсунки и, вращая гайку 2, снимите форсунку.

Рисунок 92 —
Снятие форсунки с двигателя съемником И801.11.000
1 — винт; 2 — гайка; 3 —
стойка; 4 — форсунка
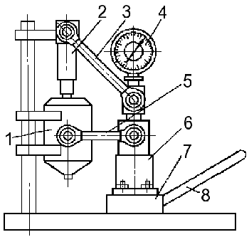
Для проверки и регулирования форсунок (герметичности, давления начала впрыскивания, качества распыления топлива, пропускной способности) используйте стенд (Рисунок 91 — Стенд для проверки форсунок), обеспечивающий точность замеров и состоящий из односекционного насоса высокого давления, приводимого в действие рычагом (или электродвигателем), контрольных приборов, при этом должно быть:
- Герметичность запорного конуса распылителя определите при поддержании давления, меньшего давления начала впрыскивания на 294-343 кПа (3,0-3,5 кгс/см2). Пропуска топлива не должно быть. Допускается увлажнение носика распылителя с появлением топлива, не отрывающегося под действием собственной массы в течение 15 с.
- Качество распыления считается удовлетворительным, если при подводе топлива в форсунку 70-80 качаниями рычага насоса в минуту оно впрыскивается в туманообразном состоянии, без капель, с равномерным выходом по поперечному сечению конуса струи из каждого отверстия распылителя. Начало и конец впрыскивания должны быть четкими.
- При закоксовании отверстий распылителя разберите форсунку, прочистите отверстия и промойте бензином. При подтекании топлива по конусу или заедании иглы замените прецизионную пару игла — корпус распылителя.
- При необходимости отрегулируйте форсунки изменением общей толщины регулировочных шайб: увеличение общей толщины регулировочных шайб (увеличение сжатия пружины) повышает давление, уменьшение — понижает. Изменение толщины шайб на 0,05 мм приводит к изменению давления начала впрыскивания форсунки на 294-343 кПа (3,0-3,5 кгс/см2). Количество устанавливаемых шайб должно быть не более трех.

Рисунок 91 — Стенд для проверки форсунок
1 — топливный бачок; 2 —
форсунка; 3 — топливопровод высокого давления; 4 — манометр; 5 — топливопровод
подвода топлива; 6 — секция насоса; 7 — фундамент; 8 — рычаг
Давление начала впрыскивания форсунки должно быть в пределах 23,73-24,90 МПа (242-254 кгс/см2). Начало и конец впрыскивания топлива должны быть четкими. Распылитель не должен иметь подтеканий. Впрыскивание должно сопровождаться характерным резким звуком.
Топливо, распыленное форсунками, при визуальном наблюдении должно быть туманообразным, без заметных на глаз отдельных капель, без сплошных струек и легко различимых местных сгущений. Замена одной какой-либо детали (корпуса распылителя или иглы) не допускается, так как они составляют прецизионную пару.
Проверку форсунок можно проводить на стенде П-3333.
Проверить состояние и действие тросов ручного управления подачей топлива и останова двигателя. Для проверки свободного перемещения троса переместить рычаг регулятора ТНВД в положение, соответствующее нажатой до упора педали подачи топлива. Трос должен перемещаться без заеданий. При повороте головки трос должен оставаться в фиксированном положении и удерживать отпущенный педалью рычаг регулятора ТНВД.
Проверить работоспособность тросового привода управления, герметичность гофрированных чехлов тросов, целостность пластиковых хомутов на концах тросов. Герметичность проверяется вытягиванием подвижного штока троса, при этом чехол должен характерно деформироваться по направлению к оси штока под влиянием разряжения во внутренней полости чехла. Чехлы, имеющие сквозные порывы или потерявшие эластичность, должны заменяться новыми. Не допускается установка и эксплуатация тросов с негерметичным гофрированным чехлом.
Пластиковые хомуты должны затягиваться при помощи специального оборудования. Проверить состояние пластины тяги регулятора (в окне пластины не должно быть глубоких канавок).
Проверить и отрегулировать привод управления подачей топлива. Для проверки и регулирования привода управления подачей топлива нажмите педаль 1 (см. Рисунок 13 — Установка педали подачи топлива, в разделе «Управление автобусом») привода управления подачей топлива до упора, при этом педаль должна упереться в регулировочный болт 9 (болт ограничения хода педали).
При свободном положении рычаг 11 (см. Рисунок 93 — Привод управления подачей топлива) управления регулятором должен упираться в болт 6 ограничения минимальной частоты вращения при работающем двигателе с минимальной частотой вращения холостого хода.

Рисунок 93 —
Привод управления подачей топлива
1 — тяга управления остановом двигателя; 2
— тяга управления подачей топлива; 3 — кронштейн; 4 — тросовые приводы; 5 —
крышка ТНВД; 6 — болт ограничения минимальной частоты вращения коленчатого вала;
7 — болт пусковой подачи; 8 — пневмоцилиндр останова двигателя с тягой и
штуцером; 9 — зажим тяги; 10 — болт ограничения хода рычага останова; 11 — рычаг
управления регулятором; 12 — болт ограничения максимальной частоты вращения
коленчатого вала; 13 — кронштейн
Отрегулируйте привод в следующем порядке:
- нажмите на педаль так, чтобы рычаг 11 управления регулятором упирался в болт 12 ограничения максимальной частоты вращения коленчатого вала двигателя;
- выверните болт 9 ограничения хода педали (см. Рисунок 13 — Установка педали подачи топлива) до соприкосновения с педалью и законтрите его гайкой 8.
При правильной регулировке привода педаль должна свободно перемещаться, обеспечивая максимальную частоту вращения коленчатого вала двигателя.
Угол d = 360° между полом кабины и педалью обеспечивается регулировкой длины
троса. При этом положение рычага ТНВД
должно соответствовать минимальной
частоте холостого хода двигателя. Возврат педали в положение работы двигателя на
холостом ходу должен происходить без заеданий.
Радиус изгиба троса должен быть не менее 200 мм. Оптимальное направление с минимальным числом изгибов достигается регулировкой педали.
Сменить масло в муфте опережения впрыскивания топлива. Заменять масло при обслуживании ТНВД на стенде. Масло заливать в корпус муфты через верхнее отверстие до появления масла из другого отверстия.






