Сборку коробки передач производить в последовательности, обратной разборке, учитывая следующие особенности:
- при установке зубчатых колес в коробку передач без их замены не следует разукомплектовывать приработанные друг к другу колеса;
- при установке зубчатых колес из числа запасных частей необходимо сопрягаемые колеса скомплектовать по пятну контакта и уровню шума на зубообкатных станках.
Расположение пятна контакта должно соответствовать Рисунку 126 — Расположение пятна контакта.

Рисунок 126 —
Расположение пятна контакта
Желательно расположение пятна контакта в зоне делительной окружности.
При проверке зубчатых колес на зубообкатных станках с торможением и без торможения ведомого зубчатого колеса шум должен быть ровным, низкого тона, без постукивания и скрежета. Шум высокого тона не допускается;
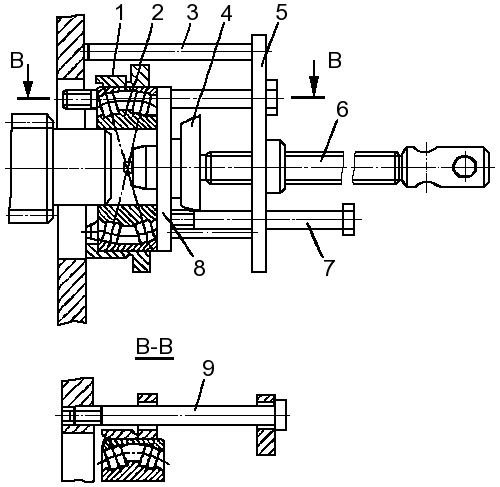
- для установки заднего подшипника промежуточного вала со стаканом на вал, размещенный в коробке передач и поджатый передней крышкой, использовать съемник И801.31.000. Для этого установить на наконечник 4 (Рисунок 128 — Приспособление для установки заднего подшипника промежуточного вала) шайбу 8, пропустить болты 9 через отверстие в стакане, ввернуть их в резьбовые отверстия на картере коробки передач до упора. Упираясь шайбой 8 в подшипник, вворачивать винт 6 в плиту 5 до полной установки стакана с подшипником;
- при сборке вторичного вала обратить внимание на правильность установки втулок 6, 13 и 17 (см. Рисунок 115 — Вторичный вал в сборе) подшипников. Отверстия на втулках должны быть совмещены с радиальными отверстиями на соответствующих шейках вторичного вала. При сборке насыпного подшипника зубчатого колеса четвертой передачи должно быть заложено 88 роликов в два ряда с установкой между рядами промежуточной втулки 20. При установке переднего подшипника 2 первичного вала проставочное кольцо должно быть установлено внутрь к торцу вала;
- при напрессовке зубчатого колеса 3 (Рисунок 112 — Промежуточный вал в сборе) привода промежуточного вала коробки передач его необходимо нагреть до температуры 90 °С;
- обратить внимание на исправность синхронизаторов. Статическое усилие кареток из
нейтрального положения должно быть для обоих синхронизаторов основной коробки
275-373 Н (28-38 кгс). Блокирующие фаски картера и пальцев не должны иметь
следов значительного износа.
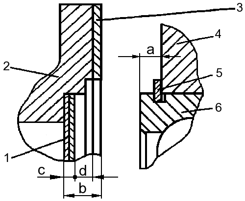
После сборки вторичного вала коробки передач торцовые зазоры по ступицам зубчатых колес первой, второй, третьей передач и передачи заднего хода должны быть в пределах (0,27-0,40) мм; по ступице зубчатого колеса четвертой передачи — (0,265-0,515); - при установке крышек подшипников первичного и вторичного валов обеспечить минимальные осевые перемещения валов подбором регулировочных прокладок, для этого: замерить с точностью 0,05 мм абсолютный размер а (см. Рисунок 127 — Регулирование осевого зазора валов коробки передач) от торца наружного кольца подшипника 6 до плоскости картера 4 при запрессованном до упора подшипнике 6.

Рисунок 127 — Регулирование осевого зазора валов коробки передач
1 —
прокладки регулировочные; 2 — крышка подшипника; 3 — прокладка уплотнительная; 4
— картер коробки передач; 5 — кольцо упорное; 6 — подшипник регулировочного
вала; а, b, с, d — размеры

Рисунок 128 —
Приспособление для установки заднего подшипника промежуточного вала
1 —
стакан; 2 — подшипник; 3 — упор; 4 — наконечник; 5 — плита; 6 — винт; 7, 9 —
болты; 8 — шайба
Для крышек первичного и вторичного валов коробки передач положить на привалочную поверхность крышки 2 уплотнительную прокладку 3, замерить с точностью 0,05 мм размер b, определить необходимую суммарную толщину с регулировочных прокладок 1, которая должна быть меньше разности (b - а) на (0,2-0,4) мм. Подобрав нужное количество регулировочных прокладок, установить крышку.
Перед установкой крепежные детали, прокладки и крышки смазать равномерным слоем уплотнительной пасты УН-25, смазать рабочие кромки уплотнительных манжет первичного и вторичного валов смазкой Литол-24.
После сборки при вращении первичного вала от усилия руки валы и зубчатые колеса коробки передач должны свободно (без заеданий) вращаться как при нейтральном положении рычага переключения передач, так и при любой включенной передаче.
Фиксаторы штоков всех передач должны четко фиксировать штоки в нейтральном положении и в положении включенной передачи. Передача заднего хода и первая передача должны включаться только при отжатом предохранителе заднего хода, установленном в верхней крышке. Одновременное включение двух передач и течь масла из коробки передач не допускаются. При вращении вала вилки выключения сцепления от усилия руки муфта выключения сцепления должна свободно (без заеданий) перемещаться по всей длине направляющей крышки первичного вала.






