Промежуточный вал коробки передач (см. рисунок) выполнен как одно целое с венцами зубчатых колес первой, второй передач и передачи заднего хода.

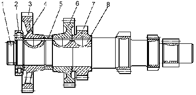
Рисунок 112 — Промежуточный вал в сборе
1 — промежуточный вал; 2 —
подшипник; 3 — зубчатое колесо привода промежуточного вала; 4 — упорное кольцо;
5 — распорная втулка; 6 — зубчатое колесо четвертой передачи; 7 — зубчатое
колесо третьей передачи; 8 — сегментная шпонка
На переднем конце вала напрессованы и закреплены от проворота сегментными шпонками 8 зубчатые колеса третьей 7 и четвертой 6 передач и зубчатое колесо 3 привода промежуточного вала.






