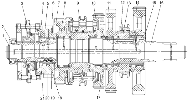
Вторичный вал коробки передач (см. рисунок) в сборе с зубчатыми колесами и синхронизаторами установлен соосно с первичным валом.
На переднем конце вала размещен подшипник 2 с приставным внутренним кольцом.
Все зубчатые колеса вала установлены на роликовых подшипниках, из которых подшипник зубчатого колеса четвертой передачи насыпной, без сепаратора.
Зубчатые колеса четвертой 18 и третьей 7 передач в осевом направлении закреплены упорной шайбой 4 с внутренними шлицами, которая установлена в выточке вала так, что ее шлицы расположены против шлицев вала, и застопорена от проворачивания подпружиненной замковой шпонкой 21.
По оси вала просверлен канал для подвода смазочного материала по радиальным отверстиям к подшипникам зубчатых колес. Масло в канал подается маслонагнетающим устройством, расположенным на первичном валу.

Рисунок 115 — Вторичный вал в сборе
1 — стопорное кольцо; 2 — передний
роликовый подшипник; 3 — синхронизатор четвертой и пятой передач; 4, 15 —
упорные шайбы; 5 — ролики подшипника четвертой передачи; 6 — втулка зубчатого
колеса четвертой передачи; 7 — зубчатое колесо третьей передачи; 8 — роликовый
подшипник; 9 — синхронизатор второй и третьей передач; 10 — зубчатое колесо
второй передачи; 11 — зубчатое колесо заднего хода; 12 — муфта включения первой
передачи и заднего хода; 13 — втулка зубчатого колеса первой передачи; 14 —
зубчатое колесо первой передачи; 16 — вторичный вал; 17 — втулка зубчатого
колеса заднего хода; 18 — зубчатое колесо четвертой передачи; 19 — пружина; 20 —
втулка зубчатого колеса четвертой передачи; 21 — замковая
шпонка






