Головки цилиндров 1 (см. рис. 24. Механизм газораспределения) — отдельные на каждый цилиндр, изготовлены из алюминиевого сплава. Головка цилиндра для охлаждения имеет полость, сообщающуюся с полостью охлаждения блока.
Каждая головка цилиндра устанавливается на два установочных штифта, запрессованных в блок цилиндров и крепится четырьмя болтами из легированной стали. Один из установочных штифтов одновременно служит втулкой для подачи масла на смазку коромысел клапанов. Втулка уплотнена резиновыми кольцами. В головке увеличено отверстие слива моторного масла из-под клапанной крышки в штанговую полость.
Окна впускного и выпускного каналов расположены на противоположных сторонах головки цилиндров. Впускной канал имеет тангенциальный профиль для обеспечения оптимального вращательного движения воздушного заряда, определяющего параметры рабочего процесса двигателя и токсичность отработавших газов.
В головку запрессованы чугунные седла и металлокерамические направляющие втулки клапанов. Выпускное седло и клапан профилированы для обеспечения меньшего сопротивления выпуску отработавших газов.
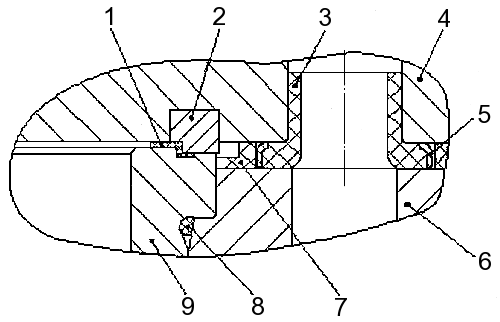
Стык «головка цилиндра — гильза» (газовый стык) — беспрокладочный (см. Рисунок 26 — Газовый стык).

Рисунок 26 —
Газовый стык
1 — прокладка-заполнитель; 2 — кольцо газового стыка; 3 —
уплотнительное кольцо перепуска охлаждающей жидкости; 4 — головка цилиндра; 5 —
экран; 6 — блок цилиндров; 7 — уплотнительная прокладка; 8 — уплотнительное
кольцо; 9 — гильза цилиндра
В расточенную канавку на нижней плоскости головки запрессовано стальное уплотнительное кольцо 2. Посредством этого кольца головка цилиндров устанавливается на бурт гильзы. Герметичность уплотнения обеспечивается высокой точностью обработки сопрягаемых поверхностей уплотнительного кольца и гильзы 9 цилиндра, а также дополнительно за счет свинцовистого покрытия для компенсации микронеровностей уплотняемых поверхностей на поверхности кольца.
Для уменьшения вредных объемов в газовом стыке установлена фторопластовая прокладка-заполнитель 1. Прокладка-заполнитель фиксируется на кольце газового стыка за счет обратного конуса и посадки ее с натягом по выступающему пояску. Применение прокладки заполнителя снижает удельный расход топлива и дымность отработавших газов. Прокладка-заполнитель разового применения.
Для уплотнения перепускных каналов охлаждающей жидкости в отверстия днища головки установлены уплотнительные кольца 8 из силиконовой резины.
Пространство между головкой и блоком, отверстия стока моторного масла и отверстия прохода штанг уплотнены прокладкой 7 головки цилиндра из термостойкой резины. На прокладке дополнительно выполнены уплотнительные бурт и втулки подачи масла и канавка слива масла в штанговые отверстия.
При сборке двигателя болты крепления головки цилиндра следует затягивать в три приема в порядке возрастания номеров, как показано на рисунке — Последовательность затяжки болтов головки цилиндра (см. раздел «Ремонт двигателя»).
Величина момента затяжки должна быть:
- 1 прием — 39-49 Н.м (4-5 кгс.м);
- 2 прием — 98-127 Н.м (10-13 кгс.м);
- 3 прием — 186-206 Н.м (18-21 кгс.м) — предельное значение.
Перед ввертыванием надо смазать резьбу болтов слоем графитовой смазки.
После затяжки болтов необходимо отрегулировать зазоры между клапанами и коромыслами. Зазор необходим для обеспечения герметичной посадки клапана на седло при тепловом расширении деталей во время работы двигателя.
Периодичность и порядок регулирования тепловых зазоров приведен в разделе «Техническое обслуживание двигателя».
Клапанный механизм закрыт алюминиевой крышкой 15 (см. Рисунок 24 — Механизм газораспределения). Для шумоизоляции и уплотнения стыка крышка — головка цилиндров применены резиновая уплотнительная прокладка 18 и виброизоляционная шайба 14.
Болты 12 крепления крышек головок цилиндров затянуть с крутящим моментом 12,7-17,6 Н.м (1,3-1,8 кгс.м).






