Отрегулировать натяжение приводных ремней
Натяжение ремней привода вентилятора осуществляют вращением гайки 4 (см. Рисунок 65 — Натяжная опора) при предварительно ослабленных на два-три оборота гайках 2. Гайка 4 скреплена с болтом-натяжителем 1 штифтом 5. При вращении гайки 4 ось 3 опоры перемещается в продольном пазу кронштейна 13, при этом шкив занимает положение, при котором происходит натяжение одновременно обеих ветвей ремней.
Правильно натянутые ремни при нажатии на середину ветви с усилием 50 Н (5 кгс) должны иметь прогиб 14-17 мм. При выходе из строя одного из ремней, заменять их нужно комплектно. Разница в длине для ремней одного комплекта не должна превышать 3 мм. На поверхности ремней не должно быть трещин и отслоений.
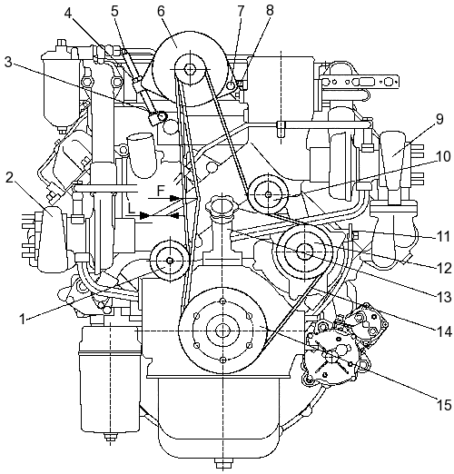
Регулирование натяжения поликлинового ремня привода генератора и водяного насоса (см. Рисунок 87 — Схема проверки натяжения ремня) проводится с помощью изменения положения генератора 6 в следующей последовательности:
- ослабить болты 3 и 8, стопорную гайку 4 и гайку 7 крепления лапок генератора к кронштейну;
- переместить генератор 6 с помощью натяжного болта 5;
- затянуть болты 3 и 8, стопорную гайку 4 и гайку 7.
После регулирования проверить натяжение ремня: правильно натянутый ремень при нажатии на середину наиболее длинной ветви ремня усилием F = 40-50 Н (4-5 кгс) должен иметь прогиб — L = 6-10 мм.
Примечание. Особое внимание натяжению приводных ремней необходимо уделять в первые 48 часов работы двигателя, т. к. в этот период происходит их наибольшая вытяжка.

Рисунок 87 — Схема проверки натяжения ремня
1, 10 — направляющие
ролики; 2, 9 — турбокомпрессоры; 3, 8 — болты; 4, 7 — гайки; 5 — натяжной болт;
6 — генератор; 11 — маслоуказатель; 12 — шкив водяного насоса; 13 —
маслоналивной патрубок; 14 — поликлиновой ремень; 15 — шкив коленчатого вала; F
— прилагаемое усилие; L — прогиб ветви






