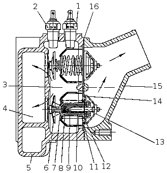
Термостаты (рисунок 34) позволяют ускорить прогрев холодного двигателя и поддерживать температуру охлаждающей жидкости не ниже 75 °С путем изменения ее расхода через радиатор. В водяной коробке 5 корпуса водяных каналов установлено параллельно два термостата с температурой начала открытия (80±2) °С.

Рисунок 34. Термостаты: 1 — датчик указателя температуры; 2 — датчик сигнализатора аварийного перегрева; 3 — канал выхода жидкости из двигателя; 4 — канал перепуска жидкости на вход водяного насоса; 5 — коробка водяная; 6 — перепускной клапан; 7 — пружина перепускного клапана; 8 — резиновая вставка; 9 — наполнитель; 10 — баллон; 11 — пружина основного клапана; 12 — основной клапан; 13 — поршень; 14 — корпус; 15 — патрубок водяной; 16 — прокладка.
При температуре охлаждающей жидкости ниже 80 °С, основной клапан 12 прижимается к седлу корпуса 14 пружиной 11 и перекрывает проход охлаждающей жидкости в радиатор. Перепускной клапан 6 открыт и соединяет водяную коробку корпуса водяных каналов по перепускному каналу 4 с входом водяного насоса.
При температуре охлаждающей жидкости выше 80 °С, наполнитель 9, находящийся в баллоне 10, начинает плавиться, увеличиваясь в объеме. Наполнитель состоит из смеси 60 % церезина (нефтяного воска) и 40 % алюминиевой пудры. Давление от расширяющегося наполнителя через резиновую вставку 8 передается на поршень 13, который, выдавливаясь наружу, перемещает баллон 10 с основным клапаном 12, сжимая пружину 11. Между корпусом 14 и клапаном 12 открывается кольцевой проход для охлаждающей жидкости в радиатор. При температуре охлаждающей жидкости 93 °С происходит полное открытие термостата, клапан поднимается на высоту не менее 8,5 мм.
Одновременно с открытием основного клапана вместе с баллоном перемещается перепускной клапан 6, который перекрывает отверстие в водяной коробке корпуса водяных каналов, соединяющее ее с входом водяного насоса.
При понижении температуры охлаждающей жидкости до 80 °С и ниже, под действием пружин 7 и 11 происходит возврат клапанов 12 и 6 в исходное положение.
Для контроля температуры охлаждающей жидкости, на водяной коробке корпуса водяных каналов установлено два датчика температуры 1 и 2. Датчик 1 выдает показания текущего значения температуры на щиток приборов, датчик 2 служит сигнализатором перегрева охлаждающей жидкости. При повышении температуры до 98 - 104 °С на щитке приборов загорается контрольная лампа аварийного перегрева охлаждающей жидкости.






