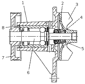
Насос водяной (рисунок 31) центробежного типа, установлен на корпусе водяных каналов. В корпус 1 запрессован радиальный двухрядный шарико-роликовый подшипник с валиком 6. С обеих сторон торцы подшипника защищены резиновыми уплотнениями. Смазка в подшипник заложена заводом-изготовителем. Пополнение смазки в эксплуатации не требуется. Упорное кольцо 8 препятствует перемещению наружной обоймы подшипника в осевом направлении. На концы валика подшипника напрессованы крыльчатка 3 и шкив 7. Сальник 2 запрессован в корпус насоса, а его кольцо скольжения постоянно прижато пружиной к кольцу скольжения 5, которое вставлено в крыльчатку через резиновую манжету 4.

Рисунок 31. Насос водяной: 1 — корпус; 2 — сальник; 3 — крыльчатка; манжета уплотнительная; 5 — кольцо скольжения; 6 — подшипник радиальный шарико-роликовый с валиком; 7 — шкив; 8 — кольцо упорное.
В корпусе водяного насоса между подшипником и сальником выполнено два отверстия: нижнее и верхнее. Верхнее отверстие служит для вентиляции полости между подшипником и сальником, а нижнее - для контроля исправности торцового уплотнения.
Подтекание жидкости из нижнего отверстия свидетельствует о неисправности уплотнения. В эксплуатации оба отверстия должны быть чистыми, так как их закупорка приведет к выходу из строя подшипника.
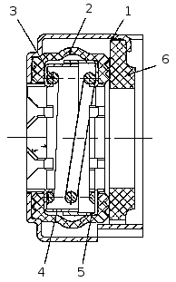
Сальник водяного насоса (рисунок 32) состоит из латунного наружного корпуса 1, в который вставлена резиновая манжета 2. Внутри манжеты размещена пружина 3 с внутренним 4 и наружным 5 каркасами. Пружина поджимает кольцо скольжения 6. Кольцо скольжения изготовлено из графито-свинцового твердо-прессованного антифрикционного материала.

Рисунок 32. Сальник водяного насоса: 1 — корпус наружный; 2 — манжета; 3 — пружина; 4 — внутренний каркас; 5 — наружный каркас; 6 — кольцо скольжения.






