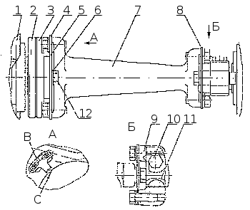
Привод ТНВД усиленной конструкции (рис. Установка угла опережения впрыска топлива двигателей 740.11 -240 и 740.14-300 или Установка угла опережения впрыска топлива двигателей 740.13-260 без муфты опережения впрыскивания топлива).

Установка угла опережения впрыска топлива двигателей 740.13-260 без муфты опережения впрыскивания топлива: 1 — корпус ТНВД; 2 — полумуфта ведомая; 3 — фланец ведомой полумуфты; 4, 8 — набор пластин; 5 — фланец центрирующий; 6 — втулка центрирующая; 7 — вал привода; 9 — полумуфта ведущая; 10 — стяжной болт; 1 — шпонка; 12 — болт ведомой полумуфты.

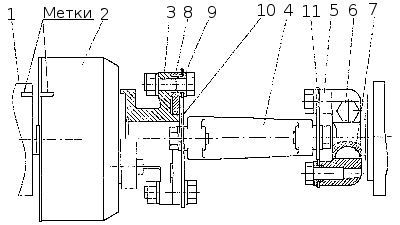
Установка угла опережения впрыскивания топлива двигателей мод. 740.11-240 и 740.14-300: 1 — корпус ТНВД; 2 — автоматическая муфта опережения впрыскивания топлива; 3 — полумуфта ведомая; 4 — вал приода; 5 — полумуфта ведущая; 6 — стяжной болт; 7 — шпонка; 8 — фланец центрирующий; 9 — втулка центрирующая; 10, 11 — набор пластин.
В приводе устанавливается по 5 пластин задних и передних толщиной 0,5 мм каждая, изготовленных из стали 65 Г.
Все болты в приводе ТНВД должны быть класса прочности R100 и заворачиваться с крутящим моментом 6,5-7,5 кгс.м. Затяжку всех болтов необходимо проконтролировать диометрическим ключом. Перед установкой болтов проверить наличие центрирующих втулок.
Внимание! Шайбы пружинные устанавливаются только под гайки крепления пластин к полумуфте ведомой.
Деформация (изгиб) передних и задних пластин не допускается. Стяжной болт ведущей полумуфты привода ТНВД затягивается в последнюю очередь.






