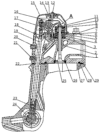
Механизм газораспределения двигателя КамАЗ 740.30-260 (рисунок 19) предназначен для обеспечения впуска в цилиндры свежего воздушного заряда и выпуска из них отработавших газов. Впускные и выпускные клапаны открываются и закрываются в определенных положениях поршня, что обеспечивается совмещением меток на шестернях привода агрегатов при их монтаже.
Механизм газораспределения - верхнеклапанный с нижним расположением распределительного вала. Кулачки распределительного вала 24 в соответствии с фазами газораспределения приводят в действие толкатели 23. Штанги 19 сообщают качательное движение коромыслам 16, а они, преодолевая сопротивление пружин 4 и 5, открывают клапаны 25. Закрываются клапаны под действием силы сжатых пружин.

Рисунок 19. Механизм газораспределения: 1 — головка цилиндра; 2 — втулка направляющая; 3 — шайба пружин клапана; 4, 5 — пружины клапана; 6 — манжета клапана; 7 — шайба; 8 — болт крепления головки; 9 — тарелка пружин; 10 — втулка тарелки пружин; 11 — сухарь клапана; 12 — болт крепления крышки; 13 — шайба; 14 — шайба виброизоляционная; 15 — крышка головки цилиндра; 16 — коромысло клапана; 17 — стойка коромысел; 18 — прокладка крышки; 19 — штанга; 20 — ввертыш крепления впускного коллектора; 21 — ввертыш крепления водяной трубы; 22 — прокладка уплотнительная; 23 — толкатель; 24 — распредвал; 25 — выпускной клапан; 26 — седло выпускное; 27 — гильза цилиндра; 28 — кольцо газового стыка; 29 — блок цилиндров; А — тепловой зазор.
Распределительный вал стальной, кулачки и опорные шейки подвергнуты термообработке ТВЧ; устанавливается в развале блока цилиндров на пяти подшипниках скольжения, представляющих собой стальные втулки, залитые антифрикционным сплавом. Диаметр втулок на 6 мм больше по сравнению со втулками двигателя 740.10.
Клапаны 25 (рисунок 19) из жаропрочной стали. Угол рабочей фаски клапанов 90°. Диаметр тарелки впускного клапана 51,6 мм, выпускного 46,6 мм, высота подъема впускного клапана - 14,2 мм, выпускного- 13,7 мм. Геометрия тарелок впускных и выпускных клапанов обеспечивает соответствующие газодинамические параметры впуска-выпуска газов и поэтому замена клапанов на клапана двигателя 740.10 не рекомендуется. Клапаны перемещаются в направляющих втулках, изготовленных из металлокерамики. Для предотвращения попадания масла в цилиндр, на нанаправляющие клапанов устанавливаются резиновые уплотнительные манжеты.
Толкатели 23 (рисунок 19) тарельчатого типа с профилированной направляющей частью, (в переходный период возможно цилиндрической). Изготовлены из стали с последующей наплавкой поверхности тарелки отбеленным чугуном. Толкатель подвергнут химико-термической обработке.
Направляющие толкателей прилитые к блоку цилиндров. В переходный период возможна установка привертных направляющих толкателей (с подрезкой болтов и резьбовых бобышек направляющей), как на двигателе 740.10. В этом случае установка направляющей толкателей двигателя 740.10 без специальной подрезки не допускается.
Штанги 19 (рисунок 19) толкателей стальные, пустотелые, с запрессованными наконечниками. Штанги на 3 мм. короче штанг двигателя 740.10 и с ними невзаимозаменяемы.
Коромысла 16 (рисунок 19) клапанов стальные, штампованные, представляют собой двуплечий рычаг, у которого отношение большого плеча к меньшему составляет 1,55. Коромысла впускного и выпускного клапанов устанавливаются на общей стойке и фиксируются в осевом направлении пружинным фиксатором. Коромысла клапанов в отличие от коромысел двигателя 740.10 не имеют бронзовой втулки, вследствие чего с ними не взаимозаменяемы.
Стойка 17 (рисунок 19) коромысел чугунная, цапфы подвергнуты термической обработке ТВЧ. Диаметр цапф на 2 мм больше по сравнению с цапфами стойки коромысел двигателя 740.10.
Пружины 4 и 5 (рисунок 19) клапанов винтовые, устанавливаются по две на каждый клапан. Пружины имеют различные направления навивки. Диаметр проволоки наружной пружины - 4,8 мм, внутренней- 3,5 мм. Предварительно устанавливаемое усилие пружин 355 Н, суммарное рабочее 821 Н. Пружины взаимозаменяемы с пружинами двигателя 740.10.
Головки цилиндров 1 (рисунок 19) отдельные на каждый цилиндр, изготовлены из алюминиевого сплава, для охлаждения имеют полость сообщающуюся с полостью охлаждения блока. Днище головки усилено за счет увеличения толщины в зоне выпускного канала и дополнительного ребра по сравнению с головкой цилиндра двигателя 740.10.






