Распределительный вал (рис. Распределительный вал в сборе) стальной, кулачки и опорные шейки подвергнуты термообработке ТВЧ; устанавливается в развале блока цилиндров на пяти подшипниках скольжения, представляющих собой стальные втулки, залитые антифрикционным сплавом.

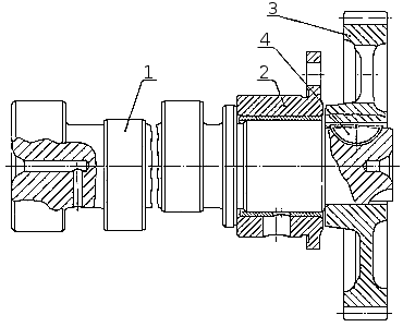
Распределительный вал: 1 — распределительный вал; 2 — корпус подшипника; 3 — шестерня; 4 — шпонка.
Диаметр втулок на 6 мм больше по сравнению со втулками двигателя мод. 740.10. Распределительный вал увеличенной размерности, измененными фазами газораспределения и ходом клапанов по сравнению с распредвалом двигателя 740.10. На задний конец распределительного вала напрессована прямозубая шестерня 3. Привод распределительного вала осуществляется от шестерни коленчатого вала через промежуточные шестерни. Шестерни стальные, штампованные с термообработанными зубьями.
Для обеспечения заданных фаз газораспределения шестерни при сборке
устанавливаются по меткам, выбитым на торцах (см.
Привод агрегатов). От осевого перемещения вал фиксируется корпусом 2
подшипника задней опоры, который крепится к блоку цилиндров тремя болтами.
Посадочный диаметр корпуса подшипника задней опоры больше по сравнению с
корпусом подшипника двигателя 740.10. Установка корпуса
подшипника задней опоры распределительного вала
двигателя 740.10 не допустима, так как приведет к
аварийному снижению давления масла в системе и преждевременному выходу из строя
двигателя.






