Гидромуфта привода вентилятора (см. рис.) передает крутящий момент от коленчатого вала к вентилятору и гасит инерционные нагрузки, возникающие при резком изменении частоты вращения коленчатого вала. Гидромуфта расположена соосно с коленчатым валом.

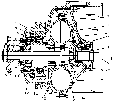
Гидромуфта привода вентилятора: 1 — передняя крышка; 2 — корпус подшипника; 3 — кожух: 4, 8, 13, 19 — шариковые подшипники; 5 — трубка корпуса подшипника; 6 — ведущий вал; 7 — вал привода гидромуфты; 9 — ведомое колесо; 10 — ведущее колесо; 11 — шкив привода генератора и жидкостного насоса; 12 — вал шкива; 14 — упорная втулка; 15 — ступица вентилятора; 16 — ведомый вал; 17, 20 — манжеты; 18 — прокладка; 21 — маслоотражатель.
Передняя крышка 1 блока и корпус 2 подшипника соединены винтами и образуют полость, в которой установлена гидромуфта.
Ведущий вал 6 в сборе с кожухом 3, ведущее колесо 10, вал 12 и шкив 11, соединенные болтами, составляют ведущую часть гидромуфты, которая вращается в шариковых подшипниках 8 и 19. Ведущая часть гидромуфты приводится во вращение от коленчатого вала через шлицевой вал 7. Ведомое колесо 9 в сборе с валом 16, на котором закреплена ступица 16 вентилятора, составляют ведомую часть гидромуфты, вращающуюся в шариковых подшипниках 4 и 13. Гидромуфта уплотнена резиновыми манжетами 17 и 20.
На внутренних тороидальных поверхностях ведущего и ведомого колес отлиты радиальные лопатки. На ведущем колесе их 33, на ведомом 32. Межлопаточное пространство колес образует рабочую полость гидромуфты.
Крутящий момент с ведущего колеса 10 гидромуфты на ведомое 9 передается при заполнении рабочей полости маслом. Частота вращения ведомой части зависит от количеств масла, поступающего в гидромуфту.






