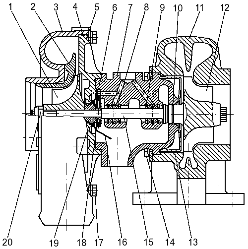
Турбокомпрессор ТКР 7С (рис. 56) состоит из центростремительной турбины и центробежного компрессора, соединенных между собой подшипниковым узлом. Турбина с двухзаходным корпусом 11 из высокопрочного чугуна преобразовывает энергию выхлопных газов в кинетическую энергию вращения ротора турбокомпрессора, которая затем в компрессорной ступени превращается в работу сжатия воздуха.
Ротор турбокомпрессора ТКР 7С состоит из колеса 12 турбины с валом 15, колеса 1 компрессора, маслоотражателя 19 и втулки 18, закрепленных на валу гайкой 20. Колесо турбины отливается из жаропрочного сплава по выплавляемым моделям и сваривается с валом из стали трением.
Колесо компрессора с загнутыми по направлению вращения назад лопатками выполняется из алюминиевого сплава и после механической обработки динамически балансируется до величины 0,4 г.мм.
Подшипниковые цапфы вала ротора закаливаются ТВЧ на глубину 1-1,5 мм. После механической обработки ротор динамически балансируется до величины 0,5 г.мм. Втулка, маслоотражатель, колесо компрессора устанавливаются на вал ротора и затягиваются гайкой крутящим моментом 7,8-9,8 Н.м (0,8-1 кгс.м). После сборки ротор дополнительно не балансируется, лишь проверяется радиальное биение цапф вала. При значении радиального биения не более 0,03 мм на детали ротора наносятся метки в одной плоскости и ротор допускается на сборку турбокомпрессора. При установке ротора на корпус подшипников необходимо совместить метки на деталях ротора. Ротор вращается в подшипниках 8, представляющих собой плавающие вращающиеся втулки. Осевые перемещения ротора ограничиваются упорным подшипником 6, защемленным между корпусом 7 подшипников и крышкой 5. Подшипники выполняются из бронзы.
Корпус подшипников турбокомпрессора с целью уменьшения теплопередачи от турбины к компрессору выполнен составным из чугунного корпуса и крышки из алюминиевого сплава. Для уменьшения теплопередачи между корпусом турбины и корпусом подшипников устанавливается экран 13 турбины из жаростойкой стали. В корпусе подшипников устанавливается маслоотбрасывающий экран 16, который вместе с упругими разрезными кольцами 10 предотвращает утечку масла из полости корпуса.
Для устранения утечек воздуха в соединении «корпус компрессора — корпус подшипников» устанавливается резиновое уплотнительное кольцо 4.
Корпусы турбины и компрессора крепятся к корпусу подшипников с помощью болтов 17 с планками. Такая конструкция позволяет устанавливать корпусы под любым углом друг к другу, что в свою очередь облегчает установку ТКР на двигателе.

Рисунок 56 — Турбокомпрессор ТКР 7С
1 — колесо компрессора; 2 —
диффузор; 3 — корпус компрессора; 4, 10 — уплотнительные кольца; 5 — крышка; 6 —
упорный подшипник; 7 — корпус подшипников; 8 — подшипник; 9 — стопорное кольцо;
11 — корпус турбины; 12 — колесо турбины; 13 — экран турбины; 14, 17 — болты с
планками; 15 — вал ротора; 16 — маслосбрасывающий экран; 18 — втулка; 19 —
маслоотражатель; 20 — гайка
|
Техническая характеристика турбокомпрессоров | |||
|
Модель двигателя |
740.11-240 |
740.31-240 |
740.30-260 |
|
Модель турбокомпрессора |
ТКР
7С (КАМАЗ) или К27-115 (Чехия) |
ТКР
7С (КАМАЗ) или | |
|
Диапазон подачи воздуха, кг/с |
0,05-0,20 |
0,05-0,20 |
0,05-0,22 |
|
Давление наддува (избыточное) при номинальной мощности двигателя,
|
80 (0,8) |
69 (0,7) |
88 (0,9) |
|
Частота вращения ротора при номинальной мощности двигателя, мин-1 |
90000 |
95000 | |
|
Температура газов на входе в турбину, К (°С),
допускаемая: |
| ||
|
Давление (избыточное) масла на входе в турбокомпрессор, |
| ||






