Порядок ремонта подвески
Амортизаторы нужно заменять при снижении максимальных сил сопротивления на ходе сжатия и отбоя более чем на 25 % по сравнению с нижним пределом, указанным в таблице 22.
Таблица 22 — Силы сопротивления амортизатора при ходе отбоя и сжатия
|
Скорость поршня, м/с |
Сила сопротивления, Н (кгс) | |
|
при ходе отбоя |
при ходе сжатия | |
|
0,52 (клапанный режим) |
10500 ± 1150 (1050 ± 115) |
2500 ± 500 (250 ± 50) |
При появлении на амортизаторе следов подтекания масла надо снять его с шасси и подтянуть гайку резервуара. Если течь не устраняется подтягиванием гайки резервуара, заменить амортизатор.
Проверка работоспособности регулятора положения уровня пола кузова
Проверка заключается в определении зоны нечувствительности рычага привода регулятора. Операция выполняется в специальном приспособлении, обеспечивающем подачу сжатого воздуха с контролем его давления и отвод воздуха из регулятора. Кроме того, на приспособлении должна быть шкала с делениями (согласно Рисунку 142 — Проверка работоспособности регулятора положения кузова) для контроля перемещения конца рычага привода.

Рисунок 142
— Проверка работоспособности регулятора положения кузова
К регулятору подводят сжатый воздух (по стрелке А) под давлением 196 кПа (2 кгс/см2) и определяют зону нечувствительности, т. е. сектор поворота рычага, в котором нет подачи воздуха на выходах Б и В регулятора. Зона нечувствительности определяется перемещением конца рычага привода от горизонтального положения. Она должна быть в пределах ± 6 мм (с увеличением давления воздуха зона может уменьшаться).
Проверка регулирования высоты пола автобуса
Для выполнения этой операции автобус Нефаз должен быть установлен на смотровой канаве, имеющей ровную горизонтальную площадку. После заполнения пневмобаллонов сжатым воздухом необходимо проверить их высоту. Для передней подвески она должна быть в пределах (280-300) мм, для задней — (265-285) мм. Если высота пневмобаллонов не соответствует указанным размерам, то следует ее отрегулировать.
Предупреждение. Некоторые водители преднамеренно увеличивают высоту пневмобаллонов для того, чтобы повыше поднять кузов над дорогой. Это недопустимо, так как приводит к перегрузкам деталей кузова и к их разрушению. Особенно быстро разрушаются при этом панели задка.
Регулирование высоты пола может выполняться двумя способами.
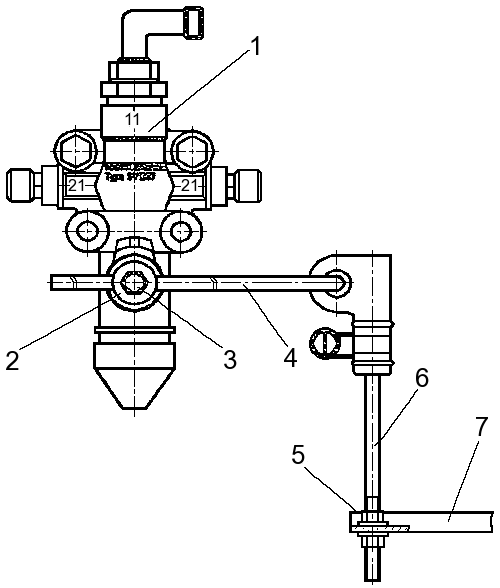
При первом способе необходимо отсоединить нижний конец регулировочной тяги 6 (см. Рисунок 143 — Регулирование высоты кузова) от кронштейна 7 рамы подвески.

Рисунок
143 — Регулирование высоты кузова
1 — регулятор; 2 — вал привода; 3 — болт; 4
— рычаг привода; 5 — контргайка; 6 — регулировочная тяга; 7 — кронштейн на раме
подвески
Затем рычаг 4 привода регулятора 1 вместе с тягой 6 следует переместить вверх (для увеличения высоты пневмобаллонов) или вниз (для уменьшения высоты пневмобаллонов).
При достижении требуемой высоты пневмобаллонов рычаг 4 привода регулятора необходимо установить горизонтально (в нейтральное положение). После этого нижний конец тяги 6 следует присоединить на место, но предварительно, для сохранения горизонтального (нейтрального) положения рычага 4 привода регулятора, необходимо переместить контргайку 5 на соответствующую высоту.
При втором способе регулирования необходимо ослабить болт 3 крепления рычага 4 к валу 2 привода регулятора, обеспечив свободное перемещение рычага относительно вала. Далее ключом за лыски, имеющиеся на валу 2 привода, повернуть вал на (30-40)° против часовой стрелки (если нужно увеличить высоту пневмобаллонов) или по часовой стрелке (если нужно уменьшить высоту пневмобаллонов).
После достижения требуемой высоты пневмобаллонов вал привода необходимо возвратить в исходное (нейтральное) положение. При этом изменится расположение рычага 4 относительно регулятора 1, т. к. изменилось расстояние между кузовом и рамой подвески. Рычаг расположится под некоторым углом к горизонтали. В этом положении его и следует закрепить болтом 3 на валу 2 привода регулятора.
Регулирование следует выполнять всегда только одним из этих двух способов.






