Адсорбентный осушитель со встроенным регулятором
Адсорбентный осушитель со регулятором давления фирмы «Wabco...» (Германия) предназначен для выделения из сжатого воздуха конденсата и автоматического удаления его из питающей части привода.
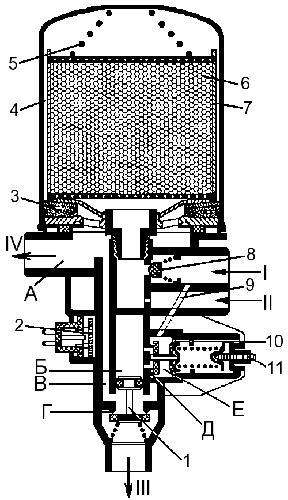
Сжатый воздух, нагнетаемый компрессором, через вывод IV поступает в полость А. Конденсат, образовавшийся здесь после понижения температуры, по каналу В попадает к выпускному отверстию Г. Подаваемый от компрессора в осушитель сжатый воздух, проходя через фильтр 3, гранулят по проходному каналу 4 поступает в верхнюю часть картриджа 7, очищается и попадает дальше в тормозную систему. При прохождении через гранулят 6 влага из воздуха поглощается и оседает на его поверхностном слое.
Осушенный воздух через обратный клапан 8, вход I и подключенные тормозные приборы попадает в ресиверы тормозной системы. Одновременно осушенный воздух через дроссельное отверстие и вход II попадает в регенерационный ресивер.
Через отверстие 9 воздух попадает в камеру Е и давление отключения воздействует на мембрану 10. После преодоления усилия пружины, устанавливаемого клапаном 11, открывается впускное отверстие Д, а затем поршень 1 под воздействием давления открывает выпускное отверстие Г.
Теперь воздух, нагнетаемый компрессором, стремится в атмосферу через камеру А, канал В и выпускное отверстие III. Одновременно поршень 1 выполняет функцию предохранительного клапана, при появлении избыточного давления воздуха автоматически открывает выпускное отверстие Г.
Из регенерационного ресивера воздух через дроссельное отверстие стремится к нижней части картриджа 7 с гранулятом. При расширении и протекании воздуха снизу вверх через картридж с гранулятом влага, осевшая на поверхности гранулята 6 вместе с воздухом выводится наружу по каналу В через открытое выпускное отверстие Г и выход III.
Если давление в устройстве падает, вследствие расхода воздуха ниже величины давления включения, то впускное отверстие Д закрывается, и давление в камере Б снижается путем выпуска воздуха через регулятор. Выпускное отверстие Г закрывается, и процесс осушки начинается вновь.

Рисунок 170 — Осушитель с регулятором давления
1 — поршень; 2 —
нагревательный патрон; 3 — фильтр; 4, 9, В — проходные каналы; 5 — пружина; 6 —
гранулят; 7 — картридж с гранулятом; 8 — обратный клапан; 10 — мембрана; 11 —
разгрузочный клапан; I, II, III, IV — выводы; А, Б, Е — камеры; Г — выпускное
отверстие; Д — впускное отверстие






