Компрессор (см. рисунок) поршневого типа, непрямоточный, одноцилиндровый, одноступенчатого сжатия. Компрессор установлен на переднем торце картера маховика двигателя в развале блока. Привод компрессора от коленчатого вала двигателя осуществляется зубчатыми колесами привода агрегатов. Головка охлаждается жидкостью, подводимой из системы охлаждения двигателя.
Масло к трущимся поверхностям компрессора подается из масляной магистрали двигателя: к картеру компрессора и по каналам коленчатого вала к шатуну. Коренные шариковые подшипники, поршневой палец и стенки цилиндра смазываются разбрызгиванием.
Поршень — алюминиевый. От осевого перемещения палец в бобышках поршня фиксируется упорными кольцами. Поршневой палец и стенки цилиндра смазываются разбрызгиванием. Воздух из впускного коллектора двигателя поступает в цилиндр компрессора через пластинчатый впускной клапан. Сжатый поршнями воздух вытесняется в пневмосистему через расположенный в головке цилиндра пластинчатый нагнетательный клапан.
При достижении в пневмосистеме давления 750-800 кПа (7,5-8,0 кгс/см2) регулятор давления сообщает нагнетательную магистраль с окружающей средой, прекращая подачу воздуха в пневмосистему. Когда давление воздуха в пневмосистеме снизится до 650 кПа (6,5 кгс/см2), регулятор перекрывает выход воздуха в окружающую среду и компрессор снова начинает нагнетать воздух в пневмосистему.

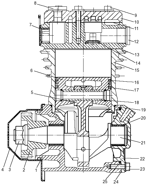
Рисунок 169 — Компрессор одноцилиндровый
1 — картер; 2 — зубчатое
колесо привода; 3 — упорная гайка; 4 — защитный чехол; 5 — шатун; 6 — поршень; 7
— пробка транспортная; 8, 12 — пробки; 9, 23 — болты; 10 — крышка головки
цилиндров; 11, 13, 24 — прокладки; 14 — клапан; 15 — блок цилиндров; 16, 17 —
поршневые кольца; 18 — поршневой палец; 19 — разрезное кольцо; 20 — подшипники
скольжения; 21 — коленчатый вал; 22 — крышка картера; 25 — уплотнительное
кольцо






