Системы кривошипно-шатунного механизма
Коленчатый вал (см. Рисунок 31 — Коленчатый вал) для различных комплектаций и моделей двигателей могут применяться с маркировкой 740.30-1005020 и 740.13-1005020. Коленчатый вал изготовлен из высококачественной стали и имеет пять коренных и четыре шатунные шейки, закаленных ТВЧ, которые связаны между собой щеками и сопрягаются с ними переходными галтелями.
Для равномерного чередования рабочих ходов расположение шатунных шеек коленчатого вала выполнено под углом 90°.
Вкладыши коренных и шатунных подшипников (см. Рисунок 33 — Установка полуколец, вкладышей подшипников, манжеты и маховика коленчатого вала 740.30-1005020 и Рисунок 35 — Поршень с кольцами в сборе с шатуном) изготовлены из стальной ленты, покрытой слоем свинцовистой бронзы толщиной 0,3 мм, слоем свинцовооловянистого сплава толщиной 0,022 мм и слоем олова толщиной 0,003 мм.
Верхние 8 (см. Рисунок 33 — Установка полуколец, вкладышей подшипников, манжеты и маховика коленчатого вала 740.30-1005020) и нижние 9 вкладыши коренных подшипников невзаимозаменяемые. В верхнем вкладыше имеется отверстие для подвода масла и канавка для его распределения.
Вкладыши 9 (см. Рисунок 35 — Поршень с кольцами в сборе с шатуном) нижней головки шатуна взаимозаменяемы. От проворачивания и бокового смещения вкладыши фиксируются выступами (усами), входящими в пазы, предусмотренные в постелях блока и шатуне, а также крышках подшипников.
Для восстановления двигателя предусмотрены восемь ремонтных размеров вкладышей. Обозначение вкладышей подшипников коленчатого вала, диаметр коренной шейки коленчатого вала, диаметр отверстия в блоке цилиндров под эти вкладыши указаны в таблице 14 (см. раздел «Ремонт КШМ»).
Вкладыши имеют конструктивные отличия, направленные на повышение их работоспособности при форсировании двигателя турбонаддувом, при этом изменена маркировка вкладышей на 7405.1004058 (шатунные), 7405.1005170 и 7405.1005171 (коренные). Поэтому при проведении ремонтного обслуживания не рекомендуется замена вкладышей на серийные с маркировкой 740.100.., т. к. при этом произойдет существенное сокращение ресурса двигателя.
Обозначение вкладышей нижней головки шатуна, диаметр шатунной шейки коленчатого вала, диаметр отверстия в кривошипной головке шатуна под эти вкладыши указаны в таблице 15 (см. раздел «Ремонт КШМ»).
Вкладыши 7405.1005170 Р0, 7405.1005171 Р0, 7405.1005058 Р0 применяются при восстановлении двигателя без шлифовки коленчатого вала. При необходимости шейки коленчатого вала заполировать.
Вкладыши 7405.1005170 Р1, 7405.1005171 Р1 и 7405.1004058Р1 применяются с перешлифовкой шеек коленчатого вала в ремонтный размер.
Пределы допусков по диаметру шейки коленчатого вала, диаметру отверстия в блоке цилиндров и диаметру отверстия в кривошипной головке шатуна при восстановлении двигателя должны быть такими же, как у номинальных размеров.
Клеймо ремонтного размера нанесено на тыльной стороне вкладыша.
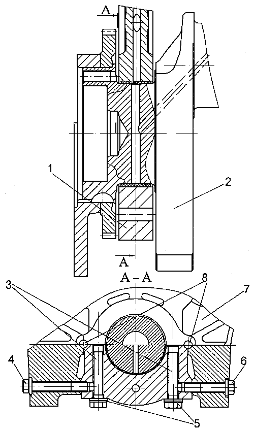
Крышки коренных подшипников (см. Рисунок 34 — Установка крышек подшипников коленчатого вала) изготовлены из высокопрочного чугуна.

Рисунок 34 —
Установка крышек подшипников коленчатого вала
1 — крышка подшипника
коленчатого вала; 2 — коленчатый вал; 3 — коренные болты крепления крышки
подшипника коленчатого вала; 4 — стяжной болт крепления крышки подшипника левый;
5 — шайбы; 6 — стяжной болт крепления крышки подшипника правый; 7 — блок
цилиндров; 8 — штифты
Крепление крышек осуществляется с помощью вертикальных коренных 3 и горизонтальных стяжных 4 и 5 болтов, которые затягиваются по определенной схеме регламентированным моментом (см. таблицу 10, раздел «Ремонт двигателя»).
Центрирование крышек коренных подшипников производится горизонтальными штифтами 8, которые запрессованы на стыке между блоком и крышками, но, большей частью, входящими в блок для предотвращения их выпадения при снятии крышек.
Кроме того, крышка пятой коренной опоры центрируется в продольном направлении двумя вертикальными штифтами, обеспечивающими точность совпадения расточек под упорные полукольца коленчатого вала на блоке и на крышках.
Поршень с шатуном (см. Рисунок 35 — Поршень с кольцами в сборе с шатуном) соединены пальцем 11 плавающего типа, его осевое перемещение ограничено стопорными кольцами 12. Палец изготовлен из хромоникелевой стали, диаметр отверстия — 21,7 мм. Применение пальцев с другими величинами отверстий недопустимо, т. к. это нарушает балансировку двигателя.
Маслосъемное кольцо 4 — коробчатого типа с пружинным расширителем, имеющим переменный шаг витков и шлифованную наружную поверхность. Средняя часть расширителя с меньшим шагом витков при установке на поршень должна располагаться в зоне замка кольца.
На двигателе мод. 740.11-240 высота маслосъемного кольца — 5 мм (на двигателях мод. 740.30-260 и 740.31-240 — 4 мм).
Установка поршней и поршневых колец с других моделей двигателей КАМАЗ недопустима, т. к. это может привести к увеличению расхода масла на угар. Допускается на двигатель мод. 740.11 установка поршней с поршневыми кольцами с двигателей мод. 740.13, 740.14. На двигателях мод. 740.31 и 740.30 установлены поршни с маркировкой 740.30-1004015-40, выполненной на днище поршня со стороны поршневого пальца.
Для исключения возможности применения невзаимозаменяемых деталей цилиндро-поршневой группы при проведении ремонтных работ рекомендуется использовать ремонтный комплект с маркировкой 7405.1000128-42 для двигателя мод. 740.11-240.
В ремонтный комплект входят:
- поршень;
- поршневые кольца;
- поршневые пальцы;
- стопорные кольца поршневого пальца;
- гильза цилиндра;
- уплотнительные кольца гильзы цилиндра.
Форсунки охлаждения (см. Рисунок 27 — Установка гильзы и форсунки охлаждения поршня) устанавливаются в картерной части блока цилиндров и обеспечивают подачу масла из главной масляной магистрали на внутреннюю полость поршней при достижении в ней давления 80-120 кПа (0,8-1,2 кгс/см2). На такое давление отрегулирован клапан, расположенный в каждой из форсунок.
При сборке двигателя необходимо контролировать правильность положения трубки форсунки относительно гильзы цилиндра и поршня. Контакт с поршнем недопустим.
Маховик с креплением под коленчатый вал 740.30-1005020 (см. Рисунок 33 — Установка полуколец, вкладышей подшипников, манжеты и маховика коленчатого вала 740.30-1005020) закреплен десятью болтами 16, изготовленными из легированной стали, на торце хвостовика коленчатого вала и зафиксирован штифтом 4 на центрирующей шейке 20 коленчатого вала 6. С целью исключения повреждения поверхности маховика под головки болтов устанавливаются шайбы 17. На обработанную цилиндрическую поверхность маховика напрессован зубчатый венец 14, с которым входит в зацепление шестерня стартера при пуске двигателя. Под манжету уплотнения коленчатого вала устанавливается кольцо 21 с наружной хромированной поверхностью. Во внутреннюю расточку маховика установлена дистанционная втулка 18 и подшипник 19 первичного вала с двухсторонним уплотнением.
Маховик с креплением под коленчатый вал 740.13-1005020 (см. Рисунок 32 — Установка манжеты уплотнения и маховика коленчатого вала 740.13-1005020) закреплен восемью болтами 12, изготовленными из легированной стали с двенадцатигранной головкой, на торце хвостовика коленчатого вала 5 и точно зафиксирован двумя штифтами 3 и установочной втулкой 15 маховика. Величина моментов затяжки болтов крепления маховиков указана в таблице 10 (см. раздел «Ремонт двигателя»).
Конфигурация сопрягаемой со сцеплением поверхности маховика определяется моделью сцепления.
Установка маховиков двигателей других моделей при проведении ремонтных работ не допускается.
При выполнении регулировочных работ по установке угла опережения впрыскивания топлива и величин тепловых зазоров в клапанах маховик фиксируется при помощи фиксатора (см. Рисунок 30 — Положения ручки фиксатора маховика).
Гаситель крутильных колебаний закреплен восемью болтами 11 (см. Рисунок 36 — Установка гасителя крутильных колебаний, фланца отбора мощности и шкива) на переднем носке коленчатого вала 6.
Привод отбора мощности — передний, осуществляется с носка коленчатого вала через фланец 15 отбора мощности, прикрепленный к носку коленчатого вала 6 восемью болтами 11. Центрирование фланца относительно коленчатого вала осуществляется по отверстию во фланце гасителя. Крутящий момент от фланца отбора мощности передается на шкив 1 электромагнитной муфты и далее через ременную передачу на привод генератора и водяного насоса. Шкив закреплен на фланце отбора мощности шестью специальными болтами 14 размерностью М12×1,25×30. На торце шкива выполнено шесть отверстий диаметром 14 мм. Отверстия предназначены для проворота коленчатого вала при регулировании зазоров клапанов.






