Приводы агрегатов для различных комплектаций и моделей двигателей могут применяться с картером агрегатов или без картера агрегатов, конструктивные особенности приведены ниже.
Привод агрегатов осуществляется прямозубыми зубчатыми колесами и служит для привода механизма газораспределения, ТНВД, компрессора и насоса гидроусилителя рулевого управления автобуса.
Зубчатые колеса устанавливаются на двигатель в строго определенном положении по метке «0» на зубчатом колесе привода распределительного вала, метке «Е» на зубчатом колесе привода ТНВД и рискам, выбитым на зубчатых колесах.
Привод агрегатов (двигатель с картером агрегатов)
Привод агрегатов (двигатель с картером агрегатов) (см. одноименный рисунок).

Рисунок 29 —
Привод агрегатов (двигатель с картером агрегатов)
1 — ось ведущего зубчатого
колеса привода распределительного вала; 2 — болт крепления оси; 3 — ролики Ø
5,5×15,8 (60 шт.); 4 — втулка промежуточная; 5 — ведущее зубчатое колесо; 6, 14
— шпонки; 7, 8 — шайбы; 9 — болт крепления насыпного подшипника; 10 — ведущее
зубчатое колесо коленчатого вала; 11 — промежуточное зубчатое колесо; 12, 17 —
шарикоподшипники; 13 — вал привода ТНВД; 15 — зубчатое колесо привода ТНВД; 16 —
зубчатое колесо привода распределительного вала; 18 — втулка; 19 —
распределительный вал
Механизм газораспределения приводится в действие от ведущего зубчатого колеса (с модулем зуба 4,5 мм), закрепленного на хвостовике коленчатого вала, через блок промежуточных зубчатых колес, которые вращаются на двух рядах роликов 3, разделенных промежуточной втулкой 4 и расположенных на оси 1, закрепленной на заднем торце блока цилиндров.
На хвостовик распределительного вала напрессовано зубчатое колесо 16 (с модулем зуба 3 мм), угловое расположение которого относительно кулачков вала определяется шпонкой. Зубчатое колесо 15 привода ТНВД установлено на вал 13 привода ТНВД с натягом и ориентируется шпонкой 14.
Привод ТНВД осуществляется от колеса 15, находящегося в зацеплении с колесом 16 привода распределительного вала. Вращение от вала к ТНВД передается через ведущую и ведомую полумуфты с упругими пластинами, которые компенсируют несоосность установки валов ТНВД и зубчатых колес. С колесом привода ТНВД находятся в зацеплении зубчатые колеса компрессора и насоса гидроусилителя рулевого управления.
К заднему торцу блока цилиндров крепится картер агрегатов. В верхней части картера агрегатов есть расточки, в которые устанавливаются компрессор и насос гидроусилителя рулевого управления. По бокам картера агрегатов выполнены бобышки с отверстиями для слива масла из турбокомпрессоров и отверстием под указатель уровня масла.
В верхней части картера агрегатов и картера маховика слева выполнен прилив, предназначенный для установки коробки отбора мощности (КОМ). В случае отсутствия КОМ внутренние поверхности прилива не обрабатываются.
Привод агрегатов закрыт картером маховика, закрепленным к заднему торцу блока цилиндров через картер агрегатов.
Привод агрегатов (двигатель без картера агрегатов)
Привод агрегатов (двигатель без картера агрегатов) (см. одноименный рисунок).

Рисунок 28 —
Привод агрегатов (двигатель без картера агрегатов)
1 — болт крепления
роликового подшипника; 2 — промежуточное зубчатое колесо; 3 — болт; 4, 16 —
шайбы; 5 — манжета; 6 — корпус заднего подшипника; 7 — прокладка; 8 — вал колеса
привода ТНВД; 9, 19 — шпонки; 10, 12, 18 — подшипники; 11 — зубчатое колесо
привода ТНВД; 13 — вал распределительный в сборе с зубчатым колесом; 15 — ось с
фланцем; 18 — болт крепления оси ведущего колеса; 20 — ведущее зубчатое колесо
привода распределительного вала; 21, 22 — кольца упорные; 23 — ведущее зубчатое
колесо коленчатого вала
Механизм газораспределения приводится в действие от ведущего зубчатого колеса 23 (с модулем зуба 3 мм), напрессованного на хвостовик коленчатого вала, через блок промежуточных зубчатых колес, которые вращаются на сдвоенном коническом роликовом подшипнике 18, расположенном на оси 15, закрепленной на заднем торце блока цилиндров. На хвостовик распределительного вала 13 напрессовано зубчатое колесо (с модулем зуба 3 мм), угловое расположение которого относительно кулачков вала определяется шпонкой.
Зубчатое колесо 11 привода ТНВД установлено на вал 8 привода ТНВД с натягом и ориентируется шпонкой 9.
Привод ТНВД осуществляется от колеса 11, находящегося в зацеплении с колесом распределительного вала 13. Вращение от вала к ТНВД передается через ведущую и ведомую полумуфты с упругими пластинами, которые компенсируют несоосность установки валов ТНВД и зубчатого колеса. С колесом привода ТНВД находятся в зацеплении зубчатые колеса компрессора и насоса гидроусилителя рулевого управления.
При необходимости отбора мощности от двигателя, может быть установлен картер маховика с люком для установки коробки отбора мощности.
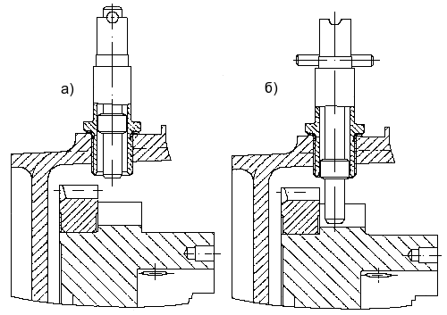
На картере маховика справа предусмотрено место под фиксатор маховика, применяемый для установки угла опережения впрыскивания топлива и регулирования тепловых зазоров в механизме газораспределения. Ручка фиксатора при работе двигателя должна находиться в верхнем положении. В нижнее положение ее переводят при регулировочных работах, в этом случае фиксатор находится в зацеплении с маховиком (см. Рисунок 30 — Положения ручки фиксатора маховика).

Рисунок 30 —
Положения ручки фиксатора маховика
а) — при эксплуатации; б) — при
регулировке в зацеплении с маховиком
В верхней части картера маховика выполнена расточка, в которую устанавливается корпус заднего подшипника вала привода ТНВД. Внизу в левой части картера имеется расточка, в которую устанавливается стартер. В середине картера выполнена расточка под манжету коленчатого вала.






