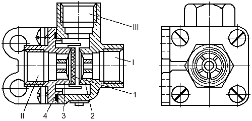
Двухмагистральные перепускные клапаны (см. рисунок) служат для питания пневмоаппаратов от одной из двух магистралей сжатого воздуха, подсоединенных к клапану.
При подаче воздуха от регулятора давления мембрана 1 клапана перемещается и закрывает ввод магистрали от ресиверов, сжатый воздух проходит к крану управления стояночной тормозной системой. При использовании сжатого воздуха из ресиверов мембрана закрывает ввод магистрали со стороны регулятора давления. Сжатый воздух также проходит к крану управления стояночной тормозной системой. К клапану с одной стороны подведена питающая магистраль от регулятора давления, с другой — от ресиверов контура III. Третий вывод клапана соединен с вводом крана управления стояночной тормозной системой.
Таким образом, клапан 5 (см. рисунок — Схема пневмопривода шасси) обеспечивает подачу сжатого воздуха на ввод ускорительного клапана из ресиверов, а при отсутствии в них воздуха — из управляющей магистрали крана управления стояночной тормозной системой.
К клапану 35 с одной стороны подводится управляющая магистраль от крана управления стояночной тормозной системой, с другой — магистраль с выхода регулятора тормозных сил.
Выход клапана ввернут непосредственно в управляющую магистраль ускорительного клапана 12. Клапан предназначен для исключения двойного действия усилий на детали тормозного механизма.
При торможении автобуса Нефаз стояночной тормозной системой воздух в управляющей магистрали крана 11 управления стояночной тормозной системой и выводе IV ускорительного клапана отсутствует.
При нажатии на тормозную педаль воздух с выхода РТС 7 поступает в тормозные камеры и через двухмагистральный клапан 35 в вывод IV ускорительного клапана, обеспечивая подачу воздуха в полость пружинного энергоаккумулятора, уменьшая усилие пружин, действующее на детали тормозного механизма.

Рисунок 182 — Двухмагистральный клапан
1 — мембрана; 2 — корпус; 3 —
крышка; 4 — уплотнительное кольцо; I, II, III — выводы






