Одинарный защитный клапан
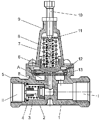
Одинарный защитный клапан (см. рисунок) предназначен для предохранения пневмопривода тормозной системы автобусного шасси от потери сжатого воздуха при нарушении герметичности или при повреждении пневмоподвески.
Сжатый воздух через ввод I поступает в полость А под мембрану 13, которую пружины 7 и 8 через поршень 6 прижимают к посадочному седлу в корпусе 1, перекрывая доступ воздуха в предклапанную полость В. При достижении заданного давления, соответствующего открытию клапана, сжатый воздух, преодолевая усилие пружин 7 и 8, приподнимает мембрану 13 и проходит в предклапанную полость В, а затем, открыв обратный клапан 2, — к выводу II . При снижении давления на вводе I ниже заданного значения мембрана 13 опускается под действием пружин 7 и 8 на седло и разобщает вводы I и II.
При этом обратный клапан 2 закрывается и предотвращает обратное движение сжатого воздуха (от вывода II к вводу I). Клапан регулируют так, чтобы воздух в вывод II поступал при давлении на вводе I, равном 550-555 кПа (5,5-5,55 кгс/см2), при этом клапан будет закрываться при падении давления на вводе I до 545 кПа (4,45 кгс/см2). При ввертывании регулировочного винта 10 в крышку давление открытия клапана повышается, при вывертывании — понижается.

Рисунок 173 — Одинарный защитный клапан
1 — корпус; 2 — обратный
клапан; 3 — пружина обратного клапана; 4 — направляющая втулка; 5 — упорное
кольцо; 6 — поршень; 7, 8 — пружины поршня; 9 — крышка; 10 — регулировочный
винт; 11 — тарелка пружины поршня; 12 — шайба; 13 — мембрана; А, В — полости; I
— ввод от ресивера; II — вывод в питающую магистраль






