Блок клапанов и соединителей (БКС) (см. Рисунок 325 и Рисунок 337) предназначен для управления подачей воздуха в пневмоцилиндры ИМКП и механизма блокировки по командам РУКП и для защиты электрических разъемов от воздействия внешней среды, а элементы подвода воздуха обеспечивают подключение к бортовой пневмосистеме АТС и подготовку воздуха (очистку и понижение давления) для подачи в пневмоцилиндры.

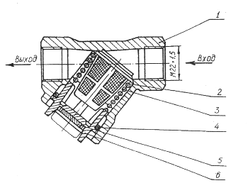
Рисунок 337 — Блок клапанов и соединителей
1, 2, 3, 4, 5 —
электропневмоклапаны (ЭПК); 6, 7, 8, 9, 10 — разъемы ЭПК; 11, 13 — разъемы
датчиков выбора передач В1, В3; 12 — разъем датчика трехпозиционного В4; 14 —
разъем жгута соединительного; 15 — плата балластных резисторов; 16 — болт; 17 —
гайка; 18 — втулка; 19 — кольцо уплотнительное; 20 — коробка коммутационная; 21
— прокладка; 22 — пневмовход; 23, 24, 25, 26, 27 — пневмовыходы; 28 — втулка
установочная; 29 — болт
БКС объединяет в одном корпусе, защищенном от воздействия внешней среды:
- ЭПК 1 (Y1), 2 (Y2), 3 (Y3), 4 (Y4) для управления подачей воздуха в пневмоцилиндры ИМКП;
- ЭПК 5 (Y5) для управления подачей воздуха в пневмоцилиндр механизма блокировки;
- разъемы 6, 7, 8, 9, 10 для подключения ЭПК;
- разъемы 11, 13 для подключения датчиков выбора В1 и В3 соответственно;
- разъем 12 для подключения датчика включения передач В4;
- разъем 14 для подключения жгута соединительного;
- плату балластных резисторов 15.
Все ЭПК собраны в один блок и стянуты двумя болтами 16 и гайками 17. Каждый ЭПК друг с другом соединены через втулку 18 и уплотнительные кольца 19 и имеют общий подвод воздуха. Все разъемы жгутов ЭПК, датчиков и жгута соединительного, а также плата балластных резисторов собраны в одном корпусе — в коробке коммутационной 20. Внутренняя часть коробки коммутационной, где находятся плата балластных резисторов и контакты всех разъемов, изолирована от внешнего воздействия прокладкой 21.
БКС соединен с ИМКП пневмошлангами 1, 2, 3, 4, а с МБ — с пневмошлангом 5 (см. Рисунок 325).
Состояния ЭПК при включении передач для различных моделей коробок передач приведены в Таблице 51.
Таблица 51
|
Номер передачи в коробке передач |
Состояние ЭПК | ||||||||||||||
|
КП КамАЗ-14 |
КП КамАЗ-141 |
КП ЯМЗ-236 | |||||||||||||
|
1 |
2 |
3 |
4 |
5 |
1 |
2 |
3 |
4 |
5 |
1 |
2 |
3 |
4 |
5 | |
|
Нейтраль выбран шток 2/3 передач выбран шток 4/5 передач выбран шток 1/R передач |
X - X |
X X X |
X X - |
X X X |
X X - |
X - X |
X X X |
X X - |
X X X |
X X - |
X -X |
X X X |
X X - |
X X X |
X X - |
|
Задний ход |
X |
X |
- |
- |
- |
X |
X |
- |
- |
- |
X |
- |
- |
X |
- |
|
Первая |
X |
- |
- |
X |
- |
X |
- |
- |
X |
- |
X |
X |
- |
- |
- |
|
Вторая |
X |
- |
X |
X |
X |
X |
- |
X |
X |
X |
X |
- |
X |
X |
X |
|
Третья |
X |
X |
X |
- |
X |
X |
X |
X |
- |
X |
X |
X |
X |
- |
X |
|
Четвертая |
- |
- |
X |
X |
X |
- |
X |
X |
- |
X |
- |
X |
X |
- |
X |
|
Пятая |
- |
X |
X |
- |
X |
- |
- |
X |
X |
X |
- |
- |
X |
X |
X |
Примечание: состояния ЭПК приведены при нажатой педали сцепления (горит индикатор 2 — см. Рисунок 331); «X» — ЭПК включен (есть напряжение на электромагните); «-» — ЭПК выключен (отсутствует напряжение на электромагните).
БКС имеет один пневмовход 22 для подключения к пневмосистеме АТС и пять пневмовыходов 23, 24, 25, 26, 27 для подключения к управляемым пневмоцилиндрам. На основании БКС установлены элементы подвода воздуха (см. Рисунок 339):
- кран разобщительный 6 — для подключения БКС к пневмосистеме АТС;
- фильтр магистральный 5 — для очистки воздуха;
- клапан редукционный 4 — для снижения давления воздуха до 0,6...0,65 МПа (6...6,5 атм).

Рисунок 339 —
Элементы подвода воздуха
1 — блок клапанов и соединителей (БКС); 2, 3 —
пневмотрубки; 4 — клапан редукционный; 5 — фильтр магистральный; 6 — кран
разобщительный; 7 — угольник ввертной; 8 — штуцер; 9 — переходник; 11 — штуцер
проходной; 12 — прокладка; 13 — прокладка; 14 — болт; 15 — болт; 16 — гайка; 17
— шайба с уплотнительным кольцом
Кран разобщительный имеет два положения (см. Рисунок 325): положение «Открыто» — для подвода воздуха в БКС и положение «Закрыто» — для проведения ремонтных и регулировочных работ.
Фильтр магистральный (см. Рисунок 340) состоит: из корпуса 1; многоразового фильтрующего элемента 2, который прижат к корпусу пружиной 3 при помощи крышки с седлом 6 и стопорной пластины 5; между корпусом и крышкой с седлом установлено герметизирующее кольцо уплотнительное 4. Для очистки фильтра необходимо: нажать на крышку с седлом 6 и удерживая ее вытащить стопорную пластину 5; соблюдая осторожность (усилие пружины 3 достаточно большое), снять крышку с седлом 6, пружину 3 и фильтрующий элемент 2, при этом обратить внимание на кольцо уплотнительное 4 (оно может остаться в корпусе 1 или в крышке с седлом 6); очистить фильтрующий элемент 2 и собрать фильтр в обратной последовательности, при этом обратить внимание на целостность кольца уплотнительного 4.

Рисунок 340 — Фильтр магистральный
1 — корпус; 2 — фильтрующий
элемент; 3 — пружина; 4 — кольцо уплотнительное; 5 — стопорная пластина; 6 —
крышка с седлом
В качестве клапана редукционного используется редукционный клапан привода управления делителем коробки передач КамАЗ-15, который регулируется на давление воздуха 0,6...0,65 МПа (6...6,5 атм). Порядок регулировки — см. п. 4.6. Допускается эксплуатация ЭПП без редукционного клапана в период обкатки новой или отремонтированной коробки передач — удлиненная пневмотрубка 3 (см. Рисунок 339) подключается напрямую на вход в БКС.
БКС в сборе с элементами подвода воздуха устанавливается на верхнюю крышку коробки передач через установочные втулки 28 (см. Рисунок 337) с заменой болтов крепления 29 (L5 = 100 мм) верхней крышки коробки передач к картеру коробки передач.






