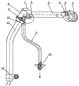
Система вентиляции картера (см. рис.) открытая, циклонного типа. Картерные отводятся из штанговой полости второго цилиндра, через угольник 1, в котором установлен завихритель 2.
При работе двигателя картерные газы, проходя через завихритель 2, поучают винтовое движение. За счет действия центробежных сил капли масла, содержась в газах, отбрасываются к стенке трубы 4 и через трубку 6 сливаются обратно в картер. Очищенные картерные газы удаляются в атмосферу.

Система вентиляции картера двигателя: 1 — угольник; 2 — завихритель; 3 — уплотнительное кольцо; 4 — труба: 5 — втулка внутренняя; 6 — труба слива масла; 7 — маслоотделитель; 8 — шланг угловой; 9,10 — хомуты; 11 — трубка отвода газов; 12 — дроссель; 13 — кляммер.
---► -моторное масло
-► -
картерные газы






