Насос топливоподкачивающий
Насос топливоподкачивающий 13 (рисунок 44) поршневого типа предназначен для подачи топлива от бака через фильтры грубой и тонкой очистки и топливопрокачивающий насос к впускной полости ТНВД.
Насос установлен на задней крышке регулятора, привод его осуществляется от эксцентрика 19, расположенного на заднем конце кулачкового вала ТНВД. В корпусе насоса размещены поршень, пружина поршня, втулка штока 47 и шток 48 толкателя, впускной и нагнетательный клапаны с пружинами. Эксцентрик 19 через ролик 49, толкатель 15 и шток 48 сообщает поршню топливоподкачивающего насоса возвратно-поступательное движение.
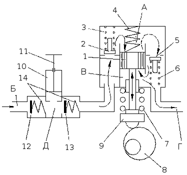
Схема работы насоса показана на рисунке 52. При опускании толкателя 9 поршень 1 под действием пружины 4 движется вниз. В полости «А» создается разрежение и впускной клапан 2, сжимая пружину 3, пропускает топливо в полость «А». Одновременно топливо, находящееся в нагнетательной полости «В», вытесняется в магистраль «Г», при этом клапан 5 под действием пружины 6 закрывается, исключая перетекание топлива из полости «В» в полость «А».

Рисунок 52. Схема работы топливоподкачивающего и топливопрокачиваюшего насосов: 1 — поршень; 2 — впускной клапан; 3,6 — пружины клапанов; 4 — пружина поршня; 5 — нагнетательный клапан; 7 — пружина толкателя; 8 — эксцентрик; 9 — толкатель; 10 — топливопрокачивающий насос; 11 — поршень; 12 — впускной клапан; 13 — нагнетательный клапан; 14 — пружины.
При движении поршня 11 вверх, топливо, заполняющее полость «А», через нагнетательный клапан 5 поступает в полость «В» под поршнем, при этом впускной клапан закрывается. При повышении давления в нагнетательной магистрали поршень не совершает полного хода вслед за толкателем, а остается в положении, которое определяется равновесием силы давления топлива с одной стороны и усилия пружины - с другой.
Насос топливопрокачивающий
Насос топливопрокачивающий 10 (рисунок 52) поршневого типа служит для заполнения топливной системы топливом перед пуском двигателя и удаления из нее воздуха.
Насос состоит из корпуса, поршня, цилиндра, впускного и нагнетательного клапанов.
Топливную систему следует прокачивать при помощи поршня насоса, предварительно расстопорив его поворотом против часовой стрелки.
При движении поршня 11 вверх в пространстве под ним создается разрежение. Впускной клапан 12, сжимая пружину 14, открывается и топливо поступает в полость «Д» насоса. При движений поршня вниз впускной клапан закрывается и открывается нагнетательный клапан 13, топливо под давлением поступает в нагнетательную магистраль, обеспечивая удаление воздуха из топливной системы двигателя через клапан ФТОТ и перепускной клапан ТНВД.
После прокачивания системы необходимо опустить поршень и зафиксировать его поворотом по часовой стрелке. При этом поршень прижмется к торцу цилиндра через резиновую прокладку, уплотнив полость всасывания топливопрокачивающего насоса.
Внимание! Не допускается пускать двигатель при незафиксированном поршне ввиду возможности подсоса воздуха через уплотнение поршня.






