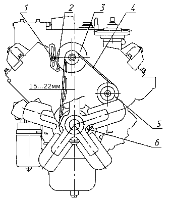
Регулировку натяжения ремней привода генератора и водяного насоса выполнить следующим образом:
- ослабить гайки крепления передней и задней лап генератора, болт 2 (см. рис.) крепления планки и болт 1;
- переместив генератор, натянуть ремни;
- затянуть болт 1, болт 2 крепления планки, гайки крепления передней и задней лап генератора.
После регулировки должно быть проверено натяжение: правильно натянутый ремень при нажатии на середину наибольшей ветви с усилием 40 Н (4 кгс) должен иметь прогиб 15-22 мм.

Схема проверки натяжения ремней: 1 — регулировочный болт; 2 — болт крепления планки; 3 — генератор; 4 — ремень; 5 — шкив водяного насоса; 6 — шкив гидромуфты.






