Изделия электрофакельного устройства ремонту не подлежат; при обнаружении отказа изделия замените его. Для проверки подачи топлива к свечам отсоедините топливопровод от свечи и прокачайте систему питания двигателя топливом с помощью насоса предпусковой прокачки. Затем откройте электромагнитный клапан, подав напряжение на штекер клапана со штекера провода подкапотной лампы. При этом из отсоединенного топливопровода должно появляться топливо. Пропускную способность свечи определяйте на отечественных стендах СДТА-3 (КИ-22201) или NC-108-1318 фирмы «Motorpal» Чехия и других, позволяющих плавно регулировать давление топлива.
При избыточном давлении дизельного топлива 73,6 кПа (0,75 кгс/см2) и температуре 15-25 °С пропускная способность свечи должна быть 5,5-6,5 см3/мин.
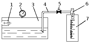
Замер производите после предварительного пролива свечи топливом в течение 20-30 с. При отсутствии указанных стендов соберите установку по схеме на рис. Схема установки для проверки пропускной способности свечей ЭФУ.

Схема установки для проверки пропускной способности свечей ЭФУ: 1 — клапан; 2 — манометр; 3 — ресивер; 4 — топливопровод; 5 — вентиль запорный; 6 — свеча факельная; 7 — цилиндр мерный с ценой делений 0,1 - 0,2 см3.
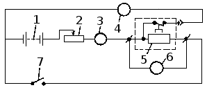
Для определения величины потребляемого тока свечи соберите схему (рис. Схема проверки потребляемого свечой тока), позволяющую иметь выходное напряжение постоянного тока 19 V. Напряжение поддерживайте реостатом 2. При таком напряжении потребляемый ток через минуту после включения свечи должен быть 11 - 11,8 А.

Схема проверки потребляемого свечой тока: 1 — источник питания; 2 — реостат; 3 — амперметр; 4 — вольтметр; 5 — свеча; 6 — выключатель.
Для проверки параметров термореле соберите схему, указанную на рис. Схема проверки термореле. Термореле установите на горизонтальную поверхность защитным экраном вверх. Номинальную величину тока 22,8 А, проходящего через реле, устанавливайте и поддерживайте реостатом 2. Время до замыкания контактов и удержания их в замкнутом состоянии определяйте по загоранию контрольной лампы 4. Для этого один провод контрольной лампы соедините со штекером термореле, а второй - с источником постоянного тока (аккумуляторной батареей).

Схема проверки термореле: 1 — источник питания; 2 — реостат; 3 — амперметр; 4 — лампа контрольная; 5 — термореле; 6 — вольтметр; 7 — выключатель.
Время с момента включения тока до замыкания контактов термореле (загорание контрольной лампы) при температуре окружающего воздуха 15-25 °С должно быть 55-65 с, а время удержания контактов (горения контрольной лампы) после отключения - не менее 45 с. Герметичность электромагнитного клапана проверяйте подачей сжатого воздуха под давлением 147 кПа (1,5 кгс/см2) к входному каналу клапана. При погружении клапана в воду не должны выделяться пузырьки воздуха.






