Двигатели КамАЗ 740.50-360, 740.51-320
Регулятор частоты вращения ТНВД (рисунок 40) всережимный, прямого действия, изменяет количество топлива, подаваемого в цилиндры в зависимости от нагрузки, поддерживая заданную частоту вращения коленчатого вала.

Рисунок 40. Регулятор ТНВД (вид сверху): 1 — корректор подачи топлива по давлению наддувочного воздуха; 2 — рычаг рейки; 3,11 — рейки; 4 — рычаг стартовой пружины; 5 — главная пружина регулятора; 6 — стартовая пружина; 7 — рычаг реек; 8 — рычаг регулятора; 9 — рычаг муфты грузов; 10 — ось; 12 — обратный корректор; 13 — винт регулировки цикловой подачи топлива; 14 — штифт.
Регулятор установлен в развале корпуса ТНВД. На кулачковом валу насоса установлена шестерня регулятора ведущая 16 (рисунок 39), вращение которой передается через резиновые сухари 17. Ведомая шестерня выполнена заодно с державкой 28 грузов, вращающейся на двух шариковых подшипниках. При вращении державки грузы 31, качающиеся на осях 29, под действием центробежных сил расходятся и через упорный подшипник 30 перемещают муфту 32 регулятора, которая, упираясь в палец 34, в свою очередь, перемещает рычаги 2, 8 и 9 регулятора (рисунок 40), преодолевая усилие пружины 5. Рычаг 2 через штифт соединен с правой рейкой 3 топливного насоса. Правая рейка через рычаг реек 7 связана с левой рейкой 11.
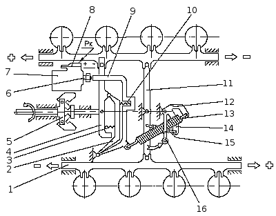
Схема работы регулятора частоты вращения показана на рисунке 41.

Рисунок 41. Схема работы регулятора частоты вращения: 1 — рейка ТНВД; 2 — рычаг муфты грузов; 3 — пружина обратного корректора; 4 — рычаг рейки; 5 — державка грузов; 6 — регулировочный болт подачи топлива; 7 — корректор подачи топлива по давлению наддувочного топлива; 8 — мембрана; 9 — рычаг регулятора; 10 — пружина прямого корректора; 11 — рычаг реек; 12 — рычаг пружины; 13 — пружина регулятора; 14 — рычаг стартовой пружины; 15 — стартовая пружина; 16 — рычаг управления регулятором.
Рычаг 16 управления регулятором жестко связан с рычагом 12. К рычагу 12 присоединена пружина 13 регулятора, а к рычагам 14 и 11 - стартовая пружина 15.
Во время работы регулятора центробежные силы грузов уравновешены усилием пружины 13. При увеличении частоты вращения коленчатого вала грузы, преодолевая сопротивление пружины 13, перемещают рычаги 2, 4 и 9, а вместе с ними и рейки ТНВД - подача топлива уменьшается. При понижении частоты вращения коленчатого вала центробежная сила грузов уменьшается, и рычаги с рейкой ТНВД под действием усилия пружины перемещаются в обратном направлении - подача топлива и частота вращения коленчатого вала увеличиваются.
При упоре рычага 9 регулятора в болт 6 и частоте вращения коленчатого вала менее 1800 мин -1 пружина 10 прямого корректора перемещает рейки насоса (через рычаги 2 и 4) в сторону увеличения подачи топлива, обеспечивая требуемую величину максимального крутящего момента двигателя.
Пружина 3 обратного корректора при частоте вращения менее 1400 мин -1 перемещает рычаг 4 с рейками в сторону уменьшения подачи топлива, ограничивая максимальную дымность отработавших газов двигателя.
Подача топлива прекращается поворотом рычага 3 (рисунок 42) останова двигателя до упора в болт 5. При этом рычаг 3, преодолев усилие пружины рычага 33 (рисунок 39) и пружины 5 (рисунок 40), через штифт 14 повернет рычаги 2, 8 и 9, рейки переместятся до полного прекращения подачи топлива.

Рисунок 42. Крышка регулятора ТНВД: 1 — рычаг управления регулятором; 2 — болт ограничения минимальной частоты вращения; 3 — рычаг останова двигателя: 4 — болт регулировки пусковом подачи; 5 — болт ограничения хода рычага останова; 6 — цилиндр пневматический останова двигателя; 7 — болт ограничения максимальной частоты вращения.
Внимание!
Проверку и регулировку ТНВД, а также замену плунжерных пар, уплотнителъных колец секций ТНВД необходимо проводить в специализированной мастерской квалифицированным специалистом.
Категорически запрещается установка на двигатели
КамАЗ 740.50-360 и 740.51-320 ТНВД других
моделей кроме вышеуказанных, во избежание выхода двигателя из
строя!






