Для разборки и сборки коленчатого вала:
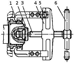
- снимите передний и задний противовесы, а также ведущую шестерню коленчатого вала и шестерню привода масляного насоса съемником И801.01.000. Для снятия шестерни коленчатого вала и заднего противовеса лапы захватов 1 (см. рис. Снятие шестерни и заднего противовеса коленчатого вала съемником) заведите за край шестерни противовеса и зафиксируйте стопорами 5. Винт 3 через наконечник 2 уприте в торец коленчатого вала и, вращая рукоятку 6, вверните винт 3 в траверсу 4 до полного снятия шестерни.

Снятие шестерни и заднего противовеса коленчатого вала съемником: 1 — захват; 2 — наконечник; 3 — винт; 4 — траверса; 5 — стопор; 6 — рукоятка.






