Для снятия автоматической муфты опережения впрыскивания топлива:
Для снятия автоматической муфты опережения впрыскивания топлива используйте приспособление. Сначала отверните гайку 2 (см. рис. Отворачивание гайки крепления муфты опережения впрыскивания топлива) крепления муфты.

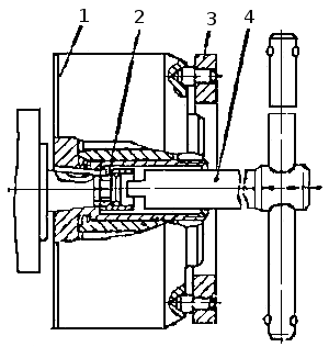
Отворачивание гайки крепления муфты опережения впрыскивания топлива: 1 — муфта; 2 — гайка; 3 — ключ; 4 — отвертка.
Для этого вставьте отвертку 4 в паз гайки и, удерживая муфту 1 от вращения ключом 3, отверните гайку. Затем, вворачивая в муфту съемник 2 (рис. Снятие муфты приспособлением), снимите муфту.

Снятие муфты приспособлением: 1 — ключ; 2 —
съемник






